Fluid Pan: Description and Operation
Removal and Installation, Disassembly and Assembly of lower cover with Intermediate Plate
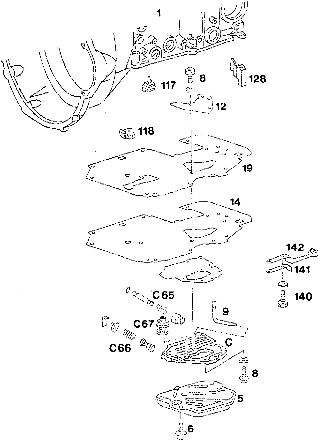
Oil from transmission (1)
drain, remove and install oil pan, check oil level following repairs (Maintenance Manual job item 2710).
Shift valve housing
remove and install.
Oil filter (5)
remove and install, screwing Phillips head screw (6) off and on, 4 Nm (item 2).
Loaf spring (142), holder (141) and screw (140)
remove and install, 8 Nm (item 3).
Combination screws (8)
screw off and on, remove complete intermediate plate (14). 8 Nm (Item 4).
Injector (118)
remove and Install by rotation (item 5).
Cover plate (12) and oil pipe (9)
remove, screwing fastening screws on and off for this purpose, 8 Nm, then remove intermediate plate (14) and gasket (19) (Item 6-8).
Lower cover (13)
disassemble and assemble, check parts (item 9).
General notes
Observe particular cleanliness for all lobs on shift valve housing. The work should be done as much as possible on a plastic surface. Do not use fuzzy cloth; leather would be best. Upon disassembly, wash all parts and blow out with compressed air.
Removal and installation
1 Remove shift valve housing.

2 Unscrew Phillips screws (6) and remove oil filter (5).

3 Unscrew screw (71), remove holder (72) with leaf spring (73).

4 Unscrew combination screws (8), remove lower cover (13) with oil pipe (9) and intermediate plate.
Installation Note
Introduce oil pipe (9) into bore (arrow).

Insert combination screws (8) but do not tighten.
Screw in two screws (10) for locating intermediate plate (14).
Tighten combination screws (8) to 8 Nm.
Mount leaf spring (73) with holder (72). Tighten screw (71) to 8 Nm. Make sure that the locating pin for holder (72) is correctly installed.

5 Injector (118) compress both links (arrow) and remove injector.

6 Pull out oil pipe (9).
7 Unscrew fastening screws (8), remove cover plate (12) with intermediate plate (14).
8 Release gasket (19) from intermediate plate
Installation Note
Pay attention to survey, large intermediate plate. Locate gasket (19) in relation to intermediate plate (14). Tightening torque 8 Nm. Application and ID

9 Disassemble and assemble lower cover, check parts.