Replacement
Data
Permissible lateral runout of ring gear 0.3 mm
Centering collar dia, for driven plates 296.00 - 296.05 mm
Stretch Bolts for Driven Plates on Crankshaft:

Tightening Specifications:

Bolt Dimensions:

NOTE: The two driven plates (2nd and 3rd version) with 1.5 mm and 1.0 mm thickness differ with regard to the outer diameter from those of the engine 117.960 (1st version) with automatic transmission 722.006 and those of the cast-iron engines with 329 mm dia.
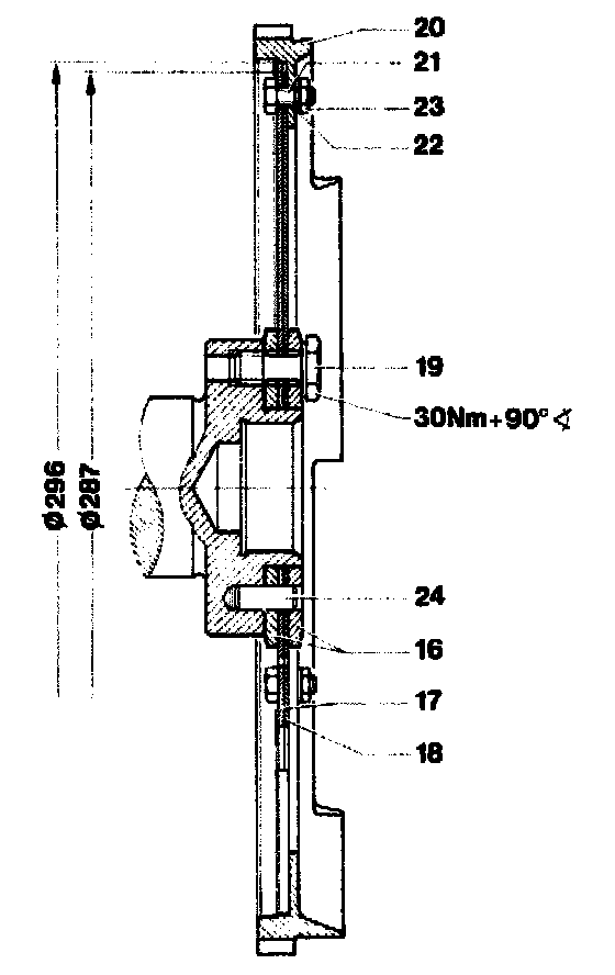
Engines with position indicator for the ignition (as of 1985) are equipped with a locating pin (24) and driven plates (17 and 18) with a bore for the locating pin. (3rd version)
The previous hole of 8 mm dia, for the assembly of the locating pin (24) was enlarged to 8.5 mm in the plates (16).
The threaded holes in the crankshaft flange are through-holes. With the bolts removed and the engine inclined, oil will run out.
Arrangement Engine 116.96, 117.96 (3rd version):

16 Plate 4.5 mm thick
17 Driven plate 1.5 mm thick. 296 mm dia
18 Driven plate 1 mm thick, 287 mm dia
19 Necked-down bolt
20 Ring gear
21 Fitted bolt
22 Spring washer B 6
23 Nut M 6
24 Locating pin
Arrangement Engine 116.96, 117.96 (2nd version):

16 Plate 4.5 mm thick
17 Driven plate 1.5 mm thick, 295 mm dia.
18 Driven plate 1 mm thick, 287 mm dia.
20 Ring gear
21 Fitted bolt
22 Spring washer B 6
23 Nut M 6
Designation:

Version A:

Version B:

NOTE: Lighter driven plates and starter ring gears (version B) were installed in engines 116.962/963 and 117.962/963 during the period November 1982 to February 1983 and as of June 1983.
Balancing:

Crankshaft, V-belt pulley, vibration damper, driven plates and ring gear are individually balanced, and can be renewed without additional balancing.
Removal
1 Remove transmission.
2 Unscrew necked-down bolts, spacer plates and driven plates with ring gear.
Installation

3 Measure necked-down shank. If the specified minimum diameter "d" on the necked-down shank is reached, the necked-down bolts must be renewed.
Microencapsulated bolts may only he used once otherwise the sealing effect is impaired.
NOTE: One of the eight securing bolts is positioned off-centre in the pitch circle diameter (arrow). The driven plates therefore have to he installed in a certain position. The holes must be exactly aligned.
4 Screw in stretch bolts or microencapsulated bolts and tighten to an initial torque of 30 - 40 Nm and an angle of rotation of 90 - 100°.