Differential Case: Service and Repair
REPLACEMENT OF RADIAL SEALING RING OF REAR AXLE SHAFT

Note: Thoroughly clean rear axle housing in range of bearing cap, so that no dirt can enter rear axle housing.
Removal
1 Completely remove rear axle shaft at respective end.


2 Force radial sealing ring out of bearing cap by means of a screwdriver.

3 Check running surface for radial sealing ring on inner spider and renew rear axle shaft, if required.
Note: Starting November 1979 only radial sealing rings with alternate thread for oil return together with rubber-coated sheet-metal jacket will be available (B, arrows). They can be used at the left and right. This will eliminate ground thread on rear axle shafts.
Installation
Rear axle center piece with lateral bearing caps

4 Knock-in radial sealing ring with 65 mm OD by means of installer, until installer is flush with bearing cap.
Note: Coat radial sealing ring together with rubber- coated sheet-metal jacket on OD with rubber sliding compound "napthalene H or hypoid gear oil".
Radial Sealing Ring Correctly Inserted:

Attention! On vehicles with large rear axle center piece there are 2 versions of bearing caps for radial sealing rings with 65 mm dia.
On 1st version, push radial sealing ring inwards until punch rests against lug for dirt labyrinth of bearing cap.
Radial Sealing Ring Correctly Inserted:

Radial Sealing Ring Wrongly Inserted:

On 2nd version, push radial sealing ring inward until punch is flush with lower edge of chamfer (lug for dirt labyrinth is made shorter) of bearing cap.
To avoid excessive pressure, use spacing ring made according to drawing.

5 Press radial sealing ring of 81 mm OD into bearing cap until installer rests against cap.
Note: Coat radial sealing ring together with rubber coated sheet-metal jacket on OD with rubber sliding compound "naphtalene or hypoid gear oil".
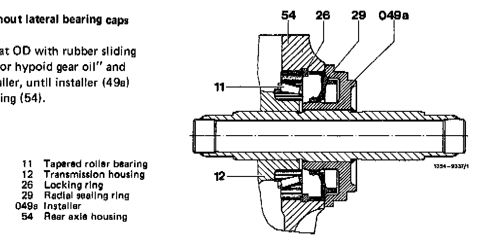
Rear axle center piece without lateral bearing caps

6 Coat radial sealing ring at OD with rubber sliding compound "naphtalene H or hypoid gear oil" and knock-in by means of installer, until installer (49a) rests against rear axle housing (54).

7 Install rear axle shaft complete with spacing ring. For this purpose, use a new locking ring between spider and side gear.
8 Check end play between inner spider and differential housing. There should be no noticeable end play; the locking ring should just barely turn in groove. If required, install thicker or thinner spacing ring.
9 Fill rear axle housing with oil up to level of filler hole.