Differential Assembly: Adjustments
Adjusting backlashNote: The backlash of the gear assembly and the required preload of tapered roller bearings in relation to differential bearing is attained by means of the locking rings installed in rear axle housing. Locking rings of varying thickness are available. For assembly, it will be of advantage to reinstall the previously removed locking rings again at respective side to obtain a basic position.
60 Disassemble and assemble differential

61 Carefully clean bore of ring gear and seat on differential housing. Heat ring gear to approx. 60-70°C and place on differential housing. Pay attention to identification marks of ring gear and differential housing, if recorded (arrow).
If ring gear cannot be placed on differential housing, assist with light hammer blows (rubber hammer).

62 Crosswise tighten normal hex. screws for fastening ring gear uniformly to 80 Nm and self-locking hex. screws to 100 Nm.
Attention! Always replace ring gear screws after one-time use.

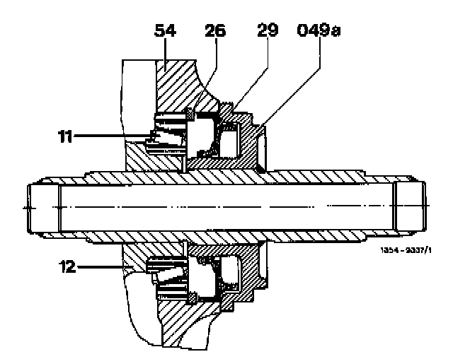
63 Press inner races of tapered roller bearings on differential housing by means of assembly mandrel (047).
Attention! Use support (048) to prevent damage to roller cage when pressing-on second inner race.

64 Insert differential into bore of rear axle housing with righthand side first, until the differential can be introduced at lefthand side.
Note: Use two assembly mandrels for better installation of outer bearing races.
65 Locate differential by means of assembly mandrel (049b) in relation to rear axle housing.

66 Remove lefthand assembly mandrel and again introduce together with outer bearing race into rear axle housing, until assembly mandrel rests against housing (arrow).

67 Remove assembly mandrel at the left. Insert previously removed locking ring into slot in such a manner that the eye of the locking ring is in alignment with the web of rear axle housing (arrow).

68 Check locking ring (26) for correct seat by means of assembly mandrel (049b).
69 Introduce righthand bearing outer race into rear axle housing until race rests against tapered roller bearing inner race (11).

70 Attach spreading device to rear axle housing and tighten hex. screws to 40 Nm (arrows).
71 Place spread measuring device on fixture and set dial gauge at 3 mm preload to 0.

Attention! Make sure that the stop pin of the measuring device rests well against contact surface on rear axle housing (refer to cutout, arrow).

72 Turn one face of thrust piece toward web of rear axle housing (arrows) and manually screw-in threaded spindle up to bearing outer race.

73 Widen (spread) rear axle housing by 0.30 mm.
Attention! While widening (spreading) do not exceed 0.30 mm.

74 Insert previously installed locking ring into rear axle housing in range of web (arrow).
75 Slacken rear axle housing.

76 Again measure spread dimension (widening) of rear axle housing with spread measuring device. The required spread of rear axle housing and thereby the correct preload of tapered roller bearing on differential is attained, as soon as the spread is in range between 0.10-0.15 mm.
77 Remove spread measuring device.
78 Insert backlash measuring device into lefthand bore of differential housing and clamp down.

79 By moving dial gauge holder, measure backlash at 4 points along circumference of ring gear. The smallest backlash is decisive. Backlash should be between 0.08-0.14 mm. During each measurement, hold drive pinion in place at universal flange.

Note: Adjustment of tapered roller bearings and gear assembly is in order, if the spread dimension (widening) of rear axle housing and backlash are in range of nominal values. If these values are not attained, repeat adjustment using either thicker or thinner locking rings (26).
Example 1: If the backlash is in order, but the spread dimension of the rear axle housing is too low, the two locking rings on both bearing caps must be thicker by the same amount.
Measured value e. g. 0.05, as a result the thickness of the locking ring at left and right should also be increased by 0.05 mm. This may lead to a change of backlash!
Example 2: If the spread dimension is in order, but the backlash is too high, the thickness of the locking ring at the right must be reduced by the respective amount and must be added at the left. If the backlash is too low, proceed vice versa.

80 Remove backlash measuring device and spreading device.

81 Check locking ring (26) for correct seat by means of assembly mandrel (049b).

82 Coat rubber-coated radial sealing ring on OD with hypoid gear oil or rubber sliding compound "naphtalene H" and force into rear axle housing (54) by means of assembly mandrel (049a).

83 Install lefthand and righthand rear axle shaft with new locking rings (35).

84 Clean sealing surface on end cover and on rear axle housing and coat with sealing compound. Mount rear axle end cover (57). Tightening torque of hex. screws 45 Nm.
85 Fill-in hypoid gear oil up to lower edge of oil filler hole.
86 Renew breather on rear axle end cover.