Harsh 4-2 or 3-2 Downshift Under Load
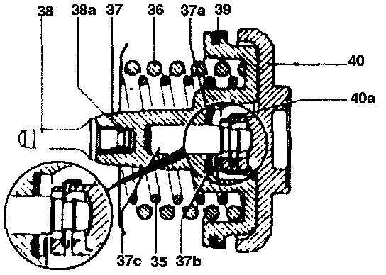
Figure 2:

37 B1 piston
37a Diaphragm spring
37b Snap-ring
37c center pin
AFFECTED VEHICLES: Transmissions 722.3, 722.5 with automatically adjusting B1 piston from 6/92 to 10/93
Figure 1:

NOTE: To determine if automatically adjusting B1 piston is installed, observe appearance of cover (40, Figure 1).
CAUSE:
- Return springs (35, 36, Figure 1) of automatically adjusting B1 piston may be incorrectly positioned in plastic B1 piston guide piece.
- Diaphragm spring (37a) not holding adjustment position on center pin (37c).
REMEDY:
1. Remove automatically adjusting B1 piston.
- To avoid excessive force on diaphragm spring (37a), loosen threaded cover (overload protection switch S65) of reaction valve Rv1 by approx. 3 turns during B1 piston removal and installation procedure.
2. Disassemble and reset automatically adjusting B1 piston to "zero" base position.
- Replace diaphragm spring (37a) with improved version, p/n 140 993 14 26.
- Diaphragm spring (37a) can become damaged due to B1 piston return spring condition listed in Cause.
- Prior to disassembly, if B1 piston can be pressed down by hand from extended position (with piston on workbench), diaphragm spring is weak.
- Inspect snap-ring (37b) for damage from removal, replace if necessary (part no. 126 272 13 73).
3. Reinstall automatically adjusting B1 piston with critical attention to correct positioning of return springs.
4. Tighten threaded cover of reaction valve Rv1 (switch S65). Tightening torque: 70 Nm.
NOTE: This repair can be performed with the transmission installed.
Production phase-in: Improved B1 piston diaphragm spring (37a) installed as of 10/93 production, Transmission no.03-931462.