Part 2
NOTE: Procedure continued from Part 1. Part 1
111 Install detent plate (74) with shalt (76).
112 Screw-in hex. socket screw (75) and tighten to 8 Nm.

113 Place resilient linkage (82) on detent plate and insert lock (arrow).

114 Mount roller (81) on resilient linkage (82).

115 Mount plastic guide (80) and push into locating bores.

116 Place existing compensating washers (77) on helical gear.

117 Mount parking lock pawl (74) insert expanding spring (75) and attach to Parking lock pawl (arrow).

118 Mount parking lock wheel (73).

119 Measure end play (C = 0.3 - 0.5 mm) of output shaft (clutch K2) and compensate.

Plug on measuring sleeve (028) 126 589 06 14 00, tighten slot nut (62) to 100 Nm. (Engage parking lock pawl to serve as a counterhold (arrow). Mount gasket (72).

Machine measuring sleeve of 1st version to 48 mm length (refer to drawing).

Mount parallel bar (029) 126 589 04 31 00. Measure with depth gauge from measuring sleeve (028) to bar. Add 15 mm to the measured dimension to provide dimension "b".
NOTE: The 15 mm are the result from height of parallel gauge block (20 mm) minus edge of measuring sleeve (5 mm).

Assemble rear cover (70). Measure with depth gauge from sealing surface of rear cover (70) in relation to inner race of radial ball bearing (67) (dimension "a"). Deduct dimension "a" from dimension "b" to obtain end play "C". Compensate end play "C" to 0.3 - 0.5 mm by adding or removing compensating washer (77) under parking lock gear (73).

120 Place O-ring (arrow) on oil pipe-speedometer lubrication (133), but only on transmission with mechanical speedometer drive.

121 Insert oil pipe-speedometer lubrication (133).
122 Mount helical gear for speedometer drive (125) making sure that the two pins mesh with the bores in parking lock wheel.

123 Mount rear cover (70), tighten fastening Screws (71) to 13 Nm.
124 Insert washer (65).

125 Place O-ring (63) into universal flange (64).

126 Mount three-legged flange (64), tighten slot nut or double hex. collar nut (62) to 120 Nm, engaging parking lock for this purpose.
127 Knock collar of slot nut or double hex. collar nut (62) into recess of output shaft (arrow) with a suitable punch.
128 Screw in kickdown solenoid valve (61) and tighten to 20 Nm.
129 Insert modulating pressure control valve (59) and thrust pin (59a).

130 Mount vacuum control unit (60) with holding plate (57), tighten hex. socket screws (58) to 8 Nm.
131 Mount starter lockout switch (53), screw-in fastening screws (55) but do not yet tighten.

132 Mount range selector lever (52) in such a manner that the driver (54) is located in range selector lever.
133 Insert hex. screw (51) and tighten to 5 Nm.
134 Move range selector lever (52) into position "N". Introduce a 4-mm cotter pin through range selector lever into locating bore of switch housing and tighten fastening screws (55) to 8 Nm. Remove cotter pin.

135 Insert lip sealing ring (39) on brake band piston B 1 (37) in such a manner that the sealing lip is pointing in direction of arrow.

NOTE: To compensate release clearance on brake band B1 on transmissions up to end no. 788 605, brake band pistons with five thrust pin lengths are available. They are identified with grooves (arrow). The brake band piston with the shortest thrust pin has no identifying groove. The brake band piston with the longest thrust pin has four identifying grooves.
NOTE: A brake band piston with removable thrust pin will be installed starting transmission end No. 788 606. The release clearance is set with shims available 0.5, 1.0 and 1.5 mm thick.

NOTE: Transmissions 722.3O8/347 have a brake band piston B1 with reduced diameter (62 mm). The brake band piston cover (40) is designed as an insert and receives the B1 piston (37). Nothing is changed for measuring release clearance "L" on brake band piston B1.

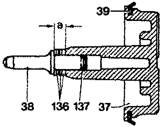
136 Mount assembly device (026) 201 589 03 59 00 and screw to transmission housing.
137 Insert brake band piston B1 (37) with a compression spring and measuring device (031) 126 589 06 21 00 only.
138 Screw-in spindle of assembly device (026), making sure that the thrust pin of the brake band piston B1 (37) enters the brake band and that the lip sealing ring (39) is not damaged.

139 Insert locking ring (41). Release assembly device (026) and remove.
NOTE: For easier installation of locking ring, slightly unscrew closing plug thrust body B1(33, item 91).

140 Measure release clearance "L" 1.6 - 2.4 mm on brake band B1 and adjust.
NOTE: The threads on measuring device (031) have a 1 mm pitch. so that one revolution means 1 mm travel. Turn screw on measuring device (031) manually until resistance is felt.

NOTE: On brake band piston with removable thrust pin, use a screw without measuring tip. Turn screw further down with torque wrench, while counting revolutions and tighten screw to 1 Nm. The idle travel on brake band should amount to 2 x 1.8 - 2.4 mm, i.e. after 2 x 1.8 - 2.4 revolutions a torque of 1 Nm must be attained. If the idle travel is too high or too low, install brake band piston (1st version thrust pin 68 - 74 mm) or shims (2nd version 0.5; 1.0; 1.5 mm).

Mount assembly device (026) again and screw down. Install brake band piston cover (40) instead of measuring device (031).

141 Screw-in spindle of assembly device (026). insert locking ring (41).
NOTE: For easier installation of locking ring, slightly unscrew closing plug-thrust body 81(33, item 91).
142 Release assembly device (026) and remove.

143 Insert thrust pin (28) with the large diameter (arrow) toward brake band B 2 (27).
NOTE: Thrust pin (at thrust bearing end) has been modified starting transmission end No. 383608:
larger dia. 1st version 10.6 mm 2nd version 9.6 mm
Length 1st version 27.0 mm 2nd version 26.0 mm

144 Place teflon ring (25) with grease into groove of brake band piston (15).
145 Insert thrust pin (26).
NOTE: Thrust pins (26) are available in 4 lengths for idle travel compensation on brake band B2. As of transmission end no. 3 122 870, the two-piece brake band piston is replaced by a one-piece brake band piston. However, the one-piece brake band piston should be installed only together with a plastic piston guide ring (item 61).

1st version
two-piece brake band piston

2nd version
one-piece brake band piston

146 Introduce brake band piston B2 (15) while making sure that the thrust pin (26) enters brake band.

147 Push-in brake band piston cover B2 (17) and insert locking ring (23).

148 Measure release clearance "L" = 5.56 mm on brake band B2 and adjust. Push brake band B2 (27) at supporting lug in direction of brake band piston (direction of arrow), so that brake piston rests against brake band piston cover. Measure dimension "a" with slide gauge.

Also push brake band B2 (27) at supporting lug (27) in direction of thrust body (direction of arrow). Measure dimension "a" once again. The difference from both measurements provides release clearance "L". Adjust release clearance "L" to 5.5 - 6 mm by exchanging thrust pin (26) on brake band piston B2.

149 Insert brake band guide B2 (16).
150 Insert one-way valve (49) and filler piece (128).
NOTE: The filler piece (128) is installed in transmissions with shift valve housing 2nd version and repair version. For USA and Japan starting 1981.

151 Insert locating pin (135) and oil deflector (119).
NOTE: The oil deflector is installed starting transmission end No. 250 750 and cannot be installed in transmission with a lower end No.
152 Insert temperature throttle (117) and push into oil duct until it is flush with housing.
Attention!

The temperature throttle (117) is installed as standard starting May 1980. On transmissions made at an earlier date the temperature throttle must be subsequently installed. In connection therewith, the throttle bore on large intermediate plate must be filed square. A white or red temperature throttle will be installed depending on shift valve housing version (refer to Installation survey 27-001).

153 Assemble lower cover (13) (27 - 435).
154 Mount lower cover (13) making sure that the oil pipe (9) enters into bore (arrow).

155 Center intermediate plate (14) with two screws (7).
156 Insert combination screws (8) and tighten to 8 Nm.
157 Mount leaf spring (73) with holder (72), tighten screw (71) to 8 Nm.
NOTE: Make sure that the locating pin for holder (72) is correctly inserted.


158 Check clearance "a" between locking piston (122) and stop on resilient linkage (82) and adjust. if required. Clearance "a" is set to 0.4 - 1.0 mm in position "N" by means of plastic clips (118). Plastic clips are available in three degrees of thickness.

159 Mount shift valve housing (2), making sure that the range selector valve (101) enters driver on detent plate (arrow).

160 Insert combination screws (7) and tighten to 8 Nm.
Caution!
Pay attention to screw length. The three screws identified with item 7 a are only 50 mm long, the remaining 12 screws are 55 mm long.

161 Engage pulling wire for control pressure (98) in connecting rod (100). Check O-ring (110) and renew, it required.

162 Push plastic sleeve of pulling wire (98) into housing until it is noticeably engaging.

163 Engage control pressure cable with vacuum element on connecting rod (100). Introduce limiting rod (101) into bore (arrow) and insert control pressure cable.
164 Rotate control pressure cable until lock engages.

165 Mount oil filter, tighten Phillips screws to 4 Nm.
166 Mount oil pan (3), tighten fastening screws (4) to 8 Nm.

167 Remove screw (arrow) and lift transmission out of assembly block.
Attention!
Following installation of transmission, check for leaks and check modulating pressure. Adjust, if required.