Drive Position "B"

Selector lever position "B" permits an early 2-1 braking shift (Selector lever 2-1 downshift). This enables 1st gear to be utilized for braking.
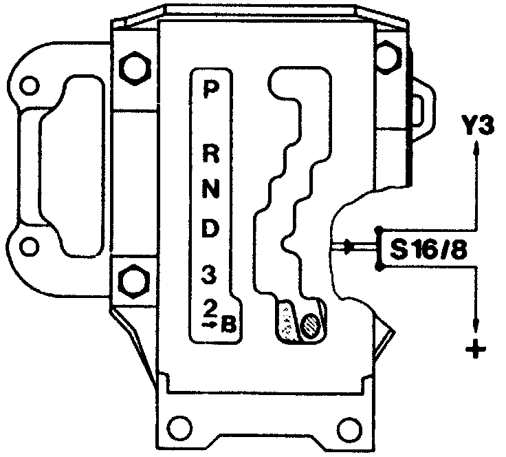
When Selector lever is engaged in position "B" current is supplied to the automatic transmission kickdown valve (Y3) by the B shift switch (S16/8) in the selector lever gate. The automatic transmission kickdown valve (Y3) Opens.