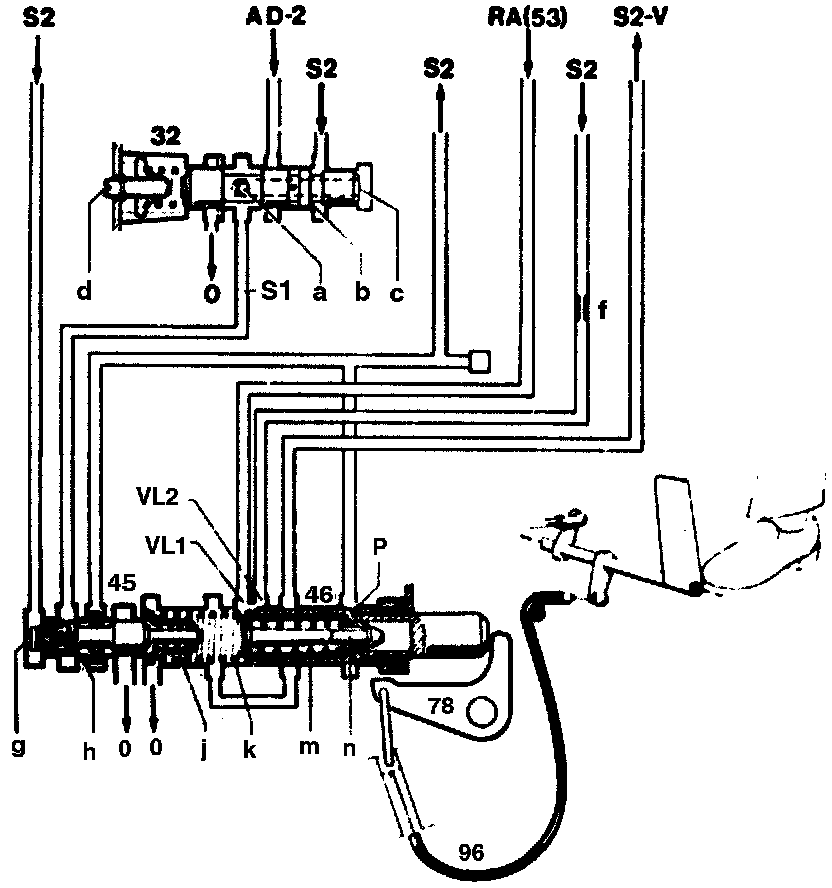
Control Pressure
Control Pressures "S1" and "S2"
Control pressure system with engine running and idle throttle

32 Full throttle control valve
45 Control pressure control valve
46 Piston of control pressure valve
78 Relay lever
98 Control pressure cable
AD2 Working pressure in pressure "D" to "2"
RA(53) Connection from damper (53)
S1 Control pressure (constant)
S2 Control pressure (load-dependent)
S2-V Control pressure at full throttle
VL1 Cross-section for oil quantity flowing out of spring chamber of damper (53)
VL2 Discharge cross-section for control pressure "S2" open at idle throttle
a Radial drilling
b Annular surface
c End face surface
d Adjusting screw
f Restrictor
g Damping piston
h Control edge
j Idle throttle spring
k Compression spring
m Full throttle spring
n Spring guide
p Annular surface
o Oil sump outlet
Control Pressures "S1" and "S2"
The control pressure system governs a pressure which is varied by the position of accelerator pedal. This pressure or the pressures "S1", "S2" and "S3" act at the command valves against the governor pressure and thus determine the shift points.
The control pressure system for the control pressure "S1" and "S2" consists of:
- Full throttle control valve (32) for control pressure "S1"
- Pressure control valve (45) for control pressure "S2"
- Piston of pressure control valve (46) opens or closes the discharge cross-sections VL1 and VL2 and also S2-V.
Control Pressure "S1"
(constant or approximately constant)
Control pressure "S1" determines the shift points at full throttle and at kick-down. It is derived from the working pressure and is governed at the full throttle control valve (32). The level of control pressure "S1" is influenced by the spring force which can be infinitely adjusted by means of the adjusting screw (d). The control pressure at the annular surface (b) and at the end face surface (C) acts against the spring force and pushes the valve (32) to the left into the governed position. As a result, the working pressure inlet is restricted or the zero outlet opens when pressure is reduced. The annular surface (b) is connected to the control pressure "S2". As a result, the level of control pressure "S1" is slightly altered; refer also to diagram:
with VG S1 = S2VG
with LG S1 > S2VG
with Kd S1 > S2Kd
S1 > S2VG

S1 Control pressure "S1"
S2 Control pressure "S2"
LG Idle throttle
VG Full throttle
Kd Kickdown
Control Pressure "S2" (dependent on load)
Control pressure S1 flows as inlet pressure to the control pressure control valve (45). Control pressure "S2" determines the shift points at idle throttle and partial throttle. This pressure is derived from control pressure "S1" and is governed at the control pressure valve (45). The level of control pressure "S2" is determined at idle throttle by he force of the spring (j). When the accelerator pedal is in the kickdown position, the piston of the control pressure valve (46) is pushed to the left by the control pressure cable (98) and the relay lever (78). After a certain travel, the spring (m) acts additionally on the control valve (45). The control pressure "S2" counteracts the spring forces at the left end face surf ace and pushes the valve (45) to the right into the governed position. As a result, the control pressure "S1" inlet is restricted and the zero outlet is opened when the pressure reduces.
This means at
- idle throttle
- low spring force
- low control pressure "S2"
- partial throttle
- higher spring force
- higher control pressure "S2"
- full throttle and kickdown
- the valve (45) is pushed fully to the left via the spring guide (n) The control edge (h) opens and the control pressure "S2" increases to the pressure level of control pressure "S1". Both pressure levels are identical.
The control pressure cable is operated by the accelerator control of the engine. The movements of throttle valve and the piston of the control pressure valve (46) are precisely matched as a result and harmonized to the engine/transmission combination. For this reason, it is particularly essential that the control pressure cable is correctly set.
The force for operating the piston of the control pressure valve (46) is determined by the spring (k). When the accelerator pedal is in the kickdown position, the increasing hydraulic force at the lefthand end face surface is balanced by the control pressure "S2" at the annular surface (p). Consequently, the pressure which requires to be exerted on accelerator pedal is reduced.
Pressure peaks in the control pressure "S2" when the accelerator pedal is operated sharply, are avoided by a damping piston (g) with spring which is installed on the left side of the control valve (45) and which slows down the governing movements of the control valve (45).
The piston of the control pressure valve (46) switches the following signals:
- after approx, 1.5 mm stroke the discharge cross-section VL2 is closed.
- after approx, 4.5 mm stroke the discharge cross-section VL1 is closed.
- after approx, 15 mm stroke the connection S2 to S2-V is opened.

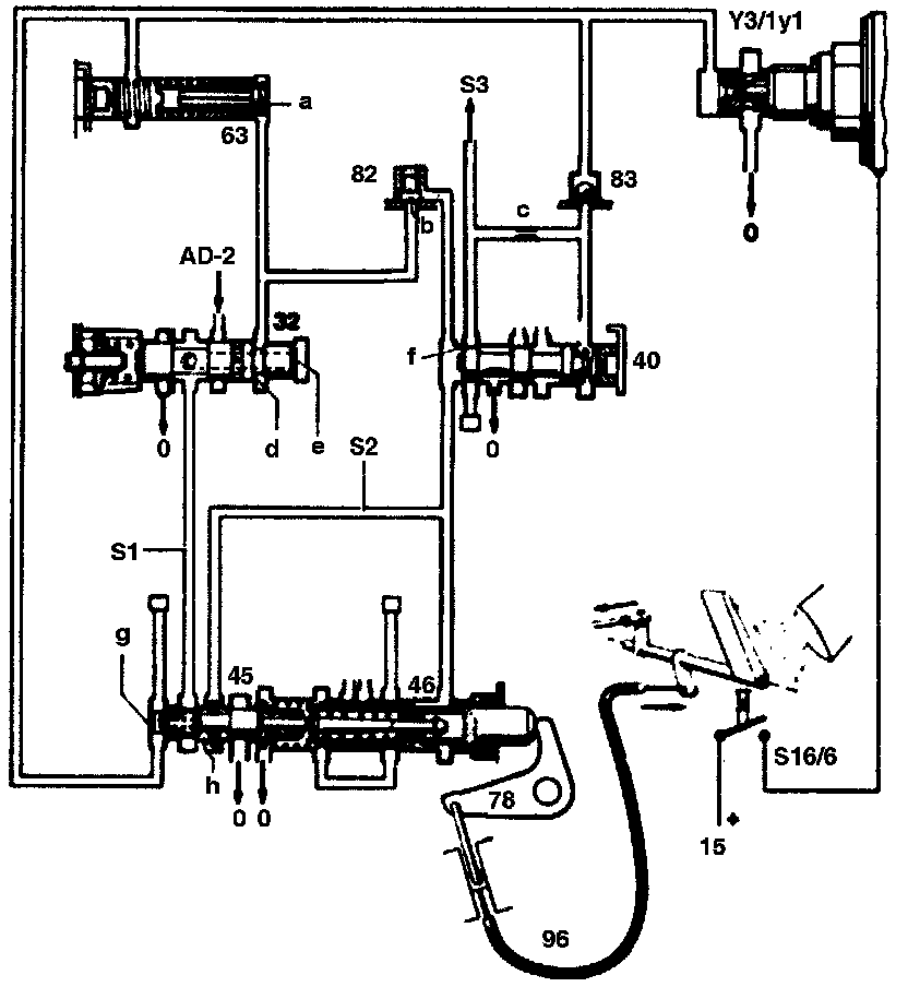
Kickdown Control Pressure "S3"
Kickdown system at partial throttle, kickdown control pressure "S3" is governed
15 Terminal 15
32 Full throttle control valve
40 Kickdown shift valve
45 Control pressure control valve
46 Piston of control pressure control valve
63 Kickdown damper
78 Relay lever
82 Non-return valve with restriction
83 Non-return ball valve
98 Control pressure cable
AD-2 Working pressure in "D" to "2"
S1 Control pressure S1 (constant)
S2 Control pressure S2 (load-dependent)
S3 Kickdown control pressure
S16/6 Kickdown switch
V3/1y1 kickdown solenoid
o Oil sump outlet
a Restrictor cross-section
b Restrictor cross-section
c Restrictor
d Annular surface
e End face
f Control edge
g Damping piston
h Control edge
The kickdown control pressure "S3" is formed in the kickdown system. This pressure acts on the governor pressure and thus determines the kickdown shift points. In the case of transmissions with 19 balls in the valve body assembly, this pressure additionally enables earlier downshifts at partial to full throttle.
The kickdown system consists of:
- Full throttle control valve (32)
- Kickdown shift valve (40)
- Kickdown damper (63)
- Kickdown solenoid valve (Y3/1y1)
- Kickdown switch (S16/6)
- Non-return valve with restriction (82)

Kickdown system at kickdown, kickdown control pressure S3 rises to its full level
15 Terminal 15
32 Full throttle control valve
40 Kickdown shift valve
45 Control pressure control valve
46 Piston of control pressure control valve
63 Kickdown damper
78 Relay lever
82 Non-return valve with restriction
83 Non-return ball valve
98 Control pressure cable
AD-2 Working pressure in "D" to "2"
S1 Control pressure S1 (constant)
S2 Control pressure S2 (load-dependent)
S3 Kickdown control pressure
S16/6 Kickdown switch
V3/1y1 kickdown solenoid
o Oil sump outlet
a Restrictor cross-section
b Restrictor cross-section
c Restrictor
d Annular surface
e End face
f Control edge
g Damping piston
h Control edge
Throttle Valve Assembly With 19 Balls
At partial to full throttle the kickdown control pressure "S3" is governed (see following diagram). The characteristic curve indicates that the kickdown control pressure "S3" is controlled as an increasing pressure from a control pressure "S2" of approx. 1.3 bar. At kickdown, control pressure "S3" rises sharply to the level of control pressure "S2" at kickdown.
Control pressure "S2" flows through the non-return valve (82) and restriction (a) in the kickdown pickup (63) to the kickdown solenoid valve (Y3/1y1) arid to the left end face surface (g) at the control pressure valve (45).
Without kickdown the needle valve of the kickdown solenoid valve (Y3/1y1) is closed. The control pressure "S2" closes the non-return ball valve (83) downward and acts on the left end face surface of the valve (40). At a control pressure "S2" of approx. 1.3 bar, the force on the left end face surface predominates, and the valve (40) is pushed to the right against the spring force. The control edge (f) opens and control pressure "S3" passes to the command valves. This pressure acts through the restriction (c) on the spring chamber and supports the spring force. The valve (40) moves to the left into the governed position. As a result, the control pressure "S2" inlet is restricted and the zero outlet opens to reduce pressure. As control pressure "S2" increases so also does control pressure "S3".
With kickdown, the kickdown switch (S16/6) is operated and voltage flows to the kickdown solenoid valve (Y3/1y1). The needle valve opens, and the connected line system is made pressureless.
An intermediate pressure forms between the restrictions (a) and (b) in line with the diameter of the restriction, and this intermediate pressure acts on the annular surface (d) and on the damper (63). The control pressure "S1" increases as a result to beyond its full throttle level. In addition. a limited increase in the control pressure "S1" is achieved during the operating time of the damper (63) in order to spontaneously initiate kickdown downshifts. The ball valve (83) opens upward and the pressure downstream of the restriction (c) is reduced. The valve (40) switches to the right as far as the stop and the kickdown control pressure increases suddenly to the level of the control pressure "S2" at kickdown.
Valve body assembly without ball check valve (83)
The ball check valve (83) is not titled to a number of valve body assembly versions. The connecting line with restrictor (c) between the end faces of the kickdown shift valve (40) is not present. These valve body assemblies do not control any kickdown "S3" dependent on control pressure. The function in the case of kickdown remains unchanged, though.
S3 = S2 with transfer case

Diagram over pressure pattern of kickdown control pressure "S3" with valve body assembly with 19 balls.
S2 Control pressure "S2"
S3 Kickdown control pressure "S3"
LG Idle throttle
VG Full throttle
Kd Kickdown