Disassembly, Assembly and Measuring of Clutch K1
Clutch K1 Exploded View:

Return Springs For Clutch Piston:

NOTE: The number of springs is determined by weighing, for this reason up to two springs less may be installed.
Clutch Plate Sequence:

Special Tools:

Clutch K1 Disk Spring:

Note To improve the 2-3 shift, a disk spring (15) will be installed into clutch K1 starting September 1981. During reconditioning jobs this disk spring must be installed on principle in combination with a modified piston (2) of 12.5 mm height. If applicable, the existing piston may be turned down by 3 mm.
Disassembly and assembly

1 Remove circlip (11).
Installation Note
Upon insertion, push circlip at its entire circumference in upward direction by means of a screw driver.

2 Tilt outside plate carrier (1) and remove plate package.
Installation Note
Pay attention to clutch plate sequence. Assemble clutch package according to transmission model designation.
Place convex disk spring on piston.

3 Place assembly fixture (020) on spring retainer (4) and tension until circlip (5) is exposed. Remove circlip (5).
4 Release assembly fixture 126 589 00 43 00 and remove.
Installation Note
Upon insertion, check circlip for correct seat.

5 Remove spring retainer (4) and compression springs (3).
Installation Note
Pay attention to number of return springs and make sure that each spring is centered by a guide pin of spring plate.

6 Pull piston (2) out of outside plate carrier (1).
Note: Check O-ring between outside plate carrier and piston guide ring for leaks, fill a small quantity of kerosene or benzine into piston guide ring. Then check whether the fluid is flowing off. In the event of leaks, replace outside plate carrier except transmission 722.323 220 kW and 722.324/325.
Installation Note

Check lip sealing rings (12 and 13) for wear and damage and replace, if required.
7 Insert lip sealing rings (12 and 13) into piston (2) in such a manner that the sealing lips are pointing downwards (direction of arrow).
Attention!
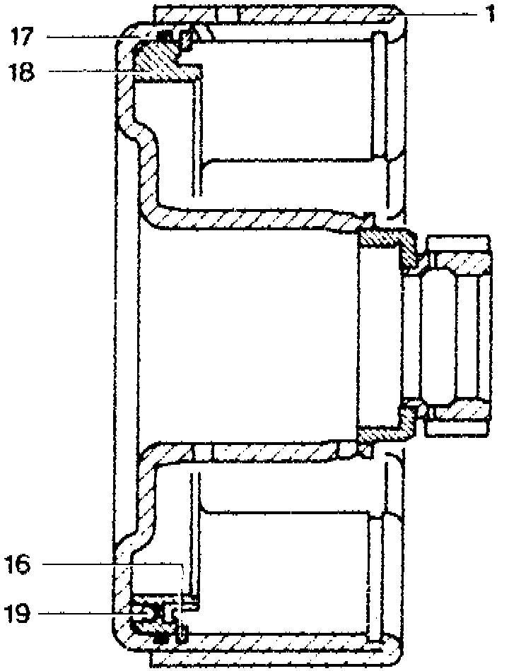
On transmission 722.323 220 kW, 722.324 and 722.325 the piston guide ring is held by means of a circlip (refer to drawing).

8 Remove circlip (16) and pull out piston guide ring (18). Remove sealing ring (17). For installation proceed vice versa.
Installation Note
Insert valve ball (19) with grease into piston guide ring (18). Lubricate piston guide ring and sealing ring with ATF oil prior to installation.

9 Place installation sleeves (021) and (022) into outside plate carrier (1). Lubricate installation sleeves, as well as lip sealing rings (12 and 13) with ATF.
NOTE: On insertion sleeves of 1st production run, remove beaded edge for approx. 5 mm on lathe so that the insertion sleeve rests on piston guide ring. Installation sleeves 126 589 03 14 00, 126 589 10 14 00 and 126 589 02 14 00.

10 Carefully install piston (2) and push into outside plate carrier (1) without canting.
11 Remove installation sleeves (021) and (022).
Measuring

12 Find clearance "A" by means of a feeler gauge.
NOTE: Starting with transmission end No.243 517 clearance "A" is set by means of circlip (11) which is available in three sizes (2.0 - 2.5 - 3.0 mm thick). The groove for the circlip is therefore machined 3.2 mm wide. Additional compensation by means of center outer plates - similar to transmissions with lower transmission end No. - is required only when ever the specified clearance "A" is not attained by means of circlip (11). Set release clearance to 0.7 - 1.2 mm.