Steering Worm Disassembly
Steering wormCheck ball circuit on steering worm (3). If impact dents are showing up, replace steering.
Bearing insert
35. Check needle sleeve for wear. If needle sleeve is damaged, renew complete bearing insert (9).

3 Steering worm
7 Bearing cap
9 Bearing insert
28 O-ring
29 O-ring
30 Sealing ring (teflon)
31 slot nut
32 Axial cyl. roller cage
61 Axial washer
Working piston and steering nut

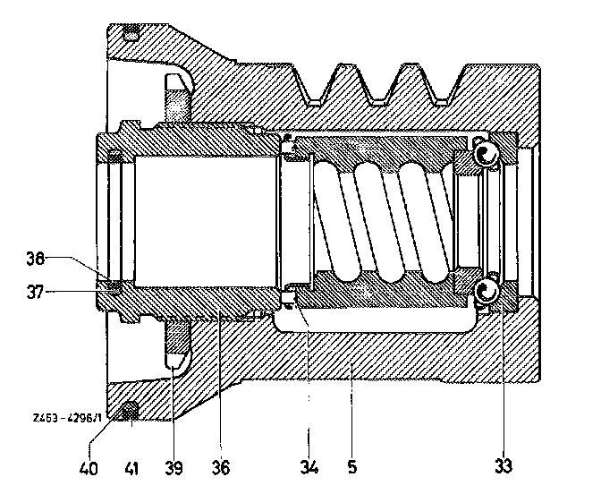
36. Remove sealing ring (41) and O-ring (40) from working piston (5). Press outer race of axial angular ball bearing (33) out of working piston.
37. Remove sealing ring (38) and O-ring (37) from screw cover (36).

38. Check ball circuit in steering nut (4). If impact dents are showing up, replace steering.
4 Steering nut
4a Straight edge on steering nut
5 working piston
33 Axial angular ball bearing
34 Axial Cyl. roller cage
36 Screw cover
39 Slot or hex. nut
41 Sealing ring (teflon)

Pitman shaft
39. Check pitman shaft (2) for wear at bearing points and on tooth segment, as well as for distortion or other damage. Renew pitman shaft, if required,
2 Pitman shaft
47 Adjusting screw
48 Thrust washer
49 Locking ring
50 Thrust ring
51 Locking ring
Case cover
40. Check needle sleeve (52) for wear. If needle sleeve is damaged, renew complete case cover.

Steering case
41. Check needle sleeve in steering case for wear. If required, pull out needle sleeve with a conventional puller.
Steering worm for steering without inside stop

45. Place lower axial cyl. roller cage (32) on steering worm (3).
46. Slip assembly sleeve (84) on steering worm (3) and mount O-ring (29) first, then sealing ring (30).
Bearing cap for steering without inside stop

47. Fasten bearing cap (7) in device (0100), insert axial washer (61) into bearing cap, then steering worm (3).
Bearing cap and steering worm for steering without inside stop:
Bearing cap with neck, sealing ring (teflon) and O-ring on steering worm

3 Steering worm
7 Bearing cap
9 Bearing insert
24 Axial washer
25 Needle sleeve
26 Radial sealing ring
27 Locking ring
28 O-ring
29 O-ring
30 Sealing ring (teflon)
31 Slot or hex nut
32 Axial cyl roller cage
46 O-ring
61 Axial washer
Bearing cap and steering worm for steering with inside stop:
Bearing cap without neck, sealing ring (teflon) and O-ring in bearing cap

3 Steering worm
7 Bearing cap
9 Bearing insert
24 Axial washer
25 Needle sleeve
26 Radial sealing ring
27 Locking ring
28 O-ring
31 Slot or hex nut
32 Axial cyl roller cage
46 O-ring
61 Axial washer
88 Sealing ring (teflon)
89 O-ring