Control Valve Disassembly
Control valve
a) Control valve 1st version
1 Steering case
6 Control valve
10 Closing cover
13 Supporting bolt
21 O-ring
22 Locking ring

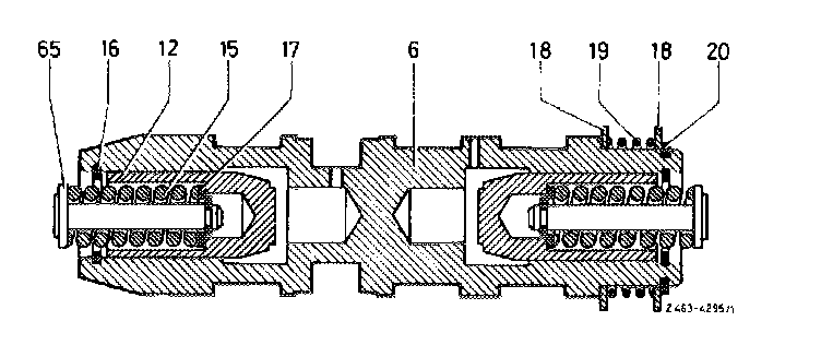
b) Control valve 2nd version
1 Steering case
6 Control valve
10 Closing cover
12 Reaction piston
21 O-ring
22 Locking ring
65 Spring bolt

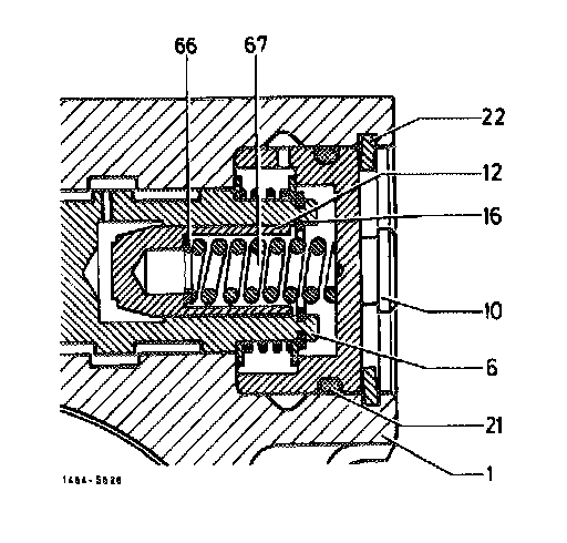
c) Control valve 3rd and 4th version
1 Steering case
6 Control valve
10 Closing cover
12 Reaction piston
16 Locking ring
21 O-ring
22 Locking ring
66 Compensating washer
67 Spring
Checkup
Apply strict standards when checking steering components. When in doubt, replace respective part on principle.
Note:
The ball circuit, that is, the steering worm and the steering nut, are assembled free of play at factory.
To maintain the specified clearance of 0.006 to 0.01 mm between straightedge of steering nut and control valve, both parts are assembled by selection.
The same applies to steering case and the control valve mounted inside case. For this reason, except for gasket and bearing set, only the pitman shaft, the working piston and the case cover are available as spare parts.
Note:
On 1st version of control valve the reaction pistons have a diameter of 11 mm and the supporting pistons (13) are secured in reaction pistons by means of locking rings (14). On 2nd version (production starting middle of 1972) the diameter of the reaction pistons is 10 mm. Two spring bolts (65) are inserted in reaction pistons. On control valve 3rd version (production starting end of 1973) the reaction pistons have a diameter of 11 mm. Inside reaction pistons are compensating washer (66) and spring (67). Starting at the beginning of 1976 the control valve 4th version is installed, with a reaction piston diameter of 11.5 mm.
1st version
42. Check reaction piston (12) and supporting piston (13) in control valve (6) for easy operation. If required, remove and clean reaction piston after removing locking ring (16).

6 control valve
12 Reaction piston (10 mm dia.)
13 Supporting bolt
16 Locking ring
18 Thrust washer
19 Compression spring
20 Locking ring
Note:
Do not remove supporting bolts (13) from reaction pistons (12), since the spring load of compression spring (15) is adjusted by means of compensation washers (17).

6 Control valve
12 Reaction piston
13 Supporting piston
14 Locking ring
15 Compression spring
16 Locking ring
17 Compensating washer
18 Thrust washer
19 Compression spring
20 Locking ring
2nd version

43. Check reaction piston (12) in control valve (6) for easy operation.
6 Control valve
12 Reaction (10 mm dia.)
15 Compression spring
16 Locking ring
17 Compensating washer
18 Thrust washer
19 Compression spring
20 Locking ring
65 Spring bolt
Note:
Do not disassemble spring bolts (65), since the spring preload is adjusted with compensating washers (17).

6 Control valve
12 Reaction piston (10 mm dia.)
15 Compression spring
16 Locking ring
17 Compensating washer
18 Thrust washer
19 Compression spring
20 Locking ring
65 Spring bolt
3rd and 4th version
44. Check reaction piston (12) in control valve for easy operation.
Note:
Do not mix up springs (15) and compensating washers (17) of both reaction pistons.

6 Control valve
12 Reaction piston (11 or 11.5 mm dia.)
15 Compression spring
16 Locking ring
17 Compensating washer
18 Thrust washer
19 Compression spring
20 Locking ring