D. Electronic Idle Speed Regulation
Functional descriptionMechanically controlled gasoline injection system with air flow sensor (abbreviated designation CIS)
D. Electronic idle speed regulation
a) Basic version starting September 1981 National version (AUS, CH, S)

The idle speed is electronically controlled by means of idle speed adjuster (23). The idle speed adjuster is a lifting magnet with respective aperture which permits variation of air flow rate. The control unit provides the lifting magnet with a timed direct current in frequency range of approx. 200 Hz.
The air is picked up after the air flow sensor plate, but before the throttle valve. As a result, the respective air quantity will be combined with the respective fuel quantity via air flow sensor plate.
The control unit processes the following variables:
^ Engine speed (TCI terminal TD = transistor-speed).
^ Engine temperature (42 °C temperature switch in coolant circuit).
^ Engaged driving position.
^ Engagement of refrigerant compressor.
^ Idle speed and partial load identification.
When the ignition is switched on, the magnet is set to a fundamental frequency by way of the electronic control system. The momentary engine speed is taken from the ignition impulses (TCI terminal TD) and a signal is transmitted to the idle speed adjuster. The switchover point for the engine speed is taken from temperature switch (20).
b) Basic version NV KAT (closed-loop control) and national version (J, USA)
Engine 116 model year 1981/82

The idle speed is electronically controlled by means of idle speed adjuster (23). The idle speed adjuster is a lifting magnet with respective aperture which permits variation of air flow rate. The control unit provides the lifting magnet with a timed direct current in frequency range of approx. 200 Hz.
The air is picked up after the air flow sensor plate, but before the throttle valve. As a result, the respective air quantity will be combined with the respective fuel quantity via air flow sensor plate.
Up to a coolant temperature of approx. 42 °C, the idle speed is regulated to 750/min, at a coolant temperature above approx. 42 °C, the idle speed is reduced to 500/min and kept constant.
When the ignition is switched on, the magnet is set to a fundamental frequency by way of the electronic control system. The momentary engine speed is taken from the ignition impulses (TCI terminal TD) and a signal is transmitted to the idle speed adjuster. The switchover point for the engine speed 750/mm or 500/mm is taken from temperature switch (20).
Below approx. 42 °C 750/min (temperature switch closed)
Above approx. 42 °C 500/min (temperature switch opened)
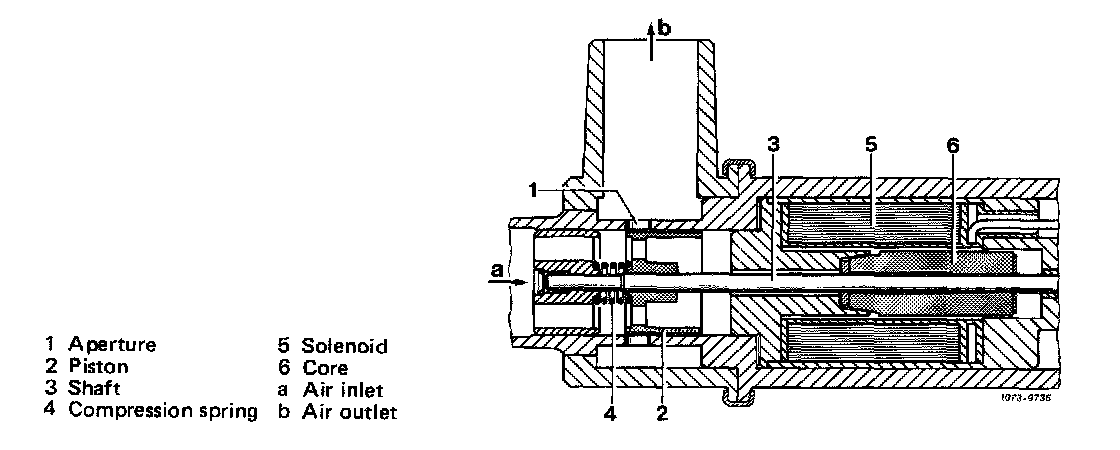
Idle speed adjuster
The idle speed adjuster has the following functions:

1. With the ignition switched off, the aperture (1) is opened to max. capacity.
2. With the ignition switched on (engine stopped) the idle speed adjuster is activated via electronic control system with approx. 1 to 5 Volt (measured at idle speed adjustment with clutch plugged on). Aperture (1) is opened to max. capacity.
3. With the engine running, the idle speed adjuster operates continuously between 4 and 5 Volts, or 1050-1200 mA. The orifice is closed approx. 5 Volts.
A slight leak air rate is permitted.

4. At a speed above 900/mm, the idle speed adjuster is activated with approx. 4.5 Volts, so that the aperture is partially opened. This will prevent stopping of engine in the event of a fast rpm drop.
Engine 116 starting model year 1983
Engine 116 basic version NV KAT (closed-loop control), starting 1984
Engine 117 starting model year 1984
The electronic idle speed control has been modified. The switchover point for engine speed is picked up at temperature switch 16 °C oil (19), which transmits simultaneously a signal to the control unit of lambda control.
The new control unit processes the following variables:
^ Engine speed.
^ Idle speed and partial load identification.
^ Engine oil temperature.
^ Engaged driving position.
^ Engagement of refrigerant compressor.
Four idle speeds will result depending on operating condition and engine oil temperature.


Functional description of control unit
When the ignition is switched on, the magnet of the idle speed adjuster is put into a basic frequency via control electronics of control unit. The momentary engine speed is derived from ignition impulses (terminal TD) and a signal is transmitted to idle speed adjuster.
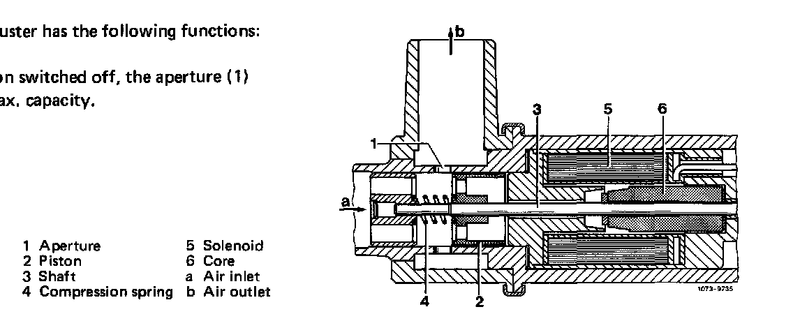
The idle speed adjuster has the following functions:

1. With the ignition switched off, the aperture (1) is opened to max. capacity.
2. At idle (without additional consumers) the idle speed adjuster operates with currents higher than 400 mA.
Idle speed and partial load identification

With the throttle valve slightly opened, the idle speed adjuster is provided with a speed of approx. 850 rpm via throttle valve switch and control unit. When the throttle valve is quickly closed, the engine speed cannot drop below 450 rpm.
When 850 rpm are exceeded, the current increases proportionally with the speed up to approx. 1000 rpm; above that number the air flow rate is constant.
Idle speed stabilization when switching on refrigerant compressor (at normal operating temperature)
107:

A delay valve (28, arrow) has been installed instead of alternating contact relay for activating the magnetic clutch of the refrigerant compressor. As a result, the control unit (21) will be activated prior to adding the refrigerant compressor.
126:

Prior to the increased engine load caused by including the refrigerant compressor, the idle speed adjuster opens to the extent that the engine continues running smoothly.
Lowering of idle speed when engaging a driving position (at normal operating temperature)
107:

The starter lockout switch is closed in selector lever position "P" or "N". In such a case, terminal 8 of control unit (21) is connected to ground via coil of starter solenoid switch.
126:

With driving position engaged, the starter lockout switch is opened and the ground connection is interrupted. The regulated speed changes from approx. 650 rpm to approx. 500 rpm.