C. Layout and Function
Functional descriptionMechanically controlled gasoline injection system with air flow sensor (abbreviated designation CIS)
C. Layout and function
Mixture control unit

The mixture control unit is a component comprising the air flow sensor and the fuel distributor.
Air flow sensor

The air flow sensor (1) comprises an air funnel and an air flow sensor plate (4) fastened to a lever (2). The lever swivels around a pivot (3). The dead weight of the air flow sensor plate is compensated by a counterweight (5).
The entire intake air quantity of engine is measured in air flow sensor which is installed in front of throttle valve.

Measuring of the air quantity is based on floating- body principle, which says, that a floating body is moving in a uniform cone in linear relation with air flow.
At stroke (a) the floating body shown in illustration clears the annular surface (a 1). The result is: The larger the quantity passing through the opening, the larger the floating body stroke.
In air flow sensor of mixture control unit, the air flow sensor plate is the floating body, the air funnel is the cone.
The air quantity aspirated by the engine changes the position of the air flow sensor plate. This air flow sensor plate stroke is transmitted by means of a lever with a definite ratio to the control piston which regulates the fuel flow rate through control slits.

The following forces will become effective at air flow sensor: The intake air acts as an air force (F 1) on air flow sensor plate. The opposing force is the hydraulic force (F 2) of control pressure, which acts on control piston by way of an orifice.
The dead weight of the air flow sensor plate and the lever, force (F 3), is compensated by the counterweight (F 4).
The position of the air flow sensor plate keeps changing until the air force (F 1) and the hydraulic force (F 2) are in balance.
As a result, the air flow sensor plate deflection and thereby the position of the control piston with reference to air flow rate can be influenced by the control pressure.
Each engine has a given characteristic field, that is, the mixture must be enriched in given load and rpm ranges, in others, the mixture must be made leaner.
This precise adaptation to the engine characteristics is determined by the shape of the air funnel. For this reason, the air funnel deviates from a pure cone shape.
Note: No subsequent changes should therefore be made on air funnel and on air flow sensor plate.
Example: If the correction stage in air funnel is wider than the cone, the air flow sensor plate stroke in corrected air funnel is smaller with the air flow rate remaining the same. The fuel air mixture is getting leaner.
Funnel Cone:

Funnel Cone:

If the correction stage in air funnel is tighter than the cone, the air flow sensor plate stroke is higher with the air flow rate remaining the same. The fuel air mixture is getting richer.
On stopped engine the air flow sensor plate is seated at the closest (narrowest) point of air funnel. The rest position is provided by a resilient stop. The air funnel is getting wider also in the opposite direction, so that in the event of an engine kickback, the pressure can be reduced. The air flow sensor plate will then overcome the resilient stop.
Fuel distributor
The fuel distributor distributes the fuel quantity to the individual cylinders in accordance with position of air flow sensor plate in air flow sensor.

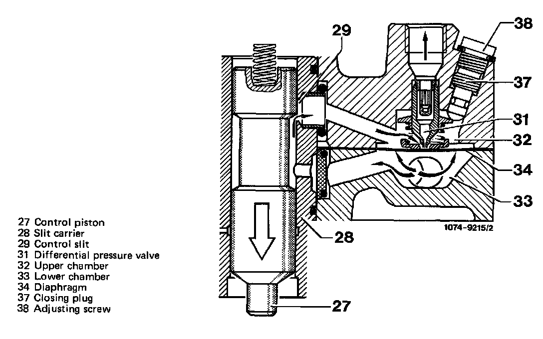
The fuel distributor is made of light alloy and comprises two housing halves. The fabric diaphragm (34) between the upper and lower half separates the interior of the fuel distributor into the lower and the upper chambers (32 and 33).
The fuel is delivered by the electric fuel pump, first into the lower chambers (33), which are connected with each other.



The connection from the lower chambers (33) to the upper chambers (32) and thereby also to the injection valves is established by the slit carrier (26) and the control piston (27).
The slit carrier (28) is a hollow cylinder into which the control slits (29), slits 0.1-0.2 mm wide and 5 mm high, are machined. Each engine cylinder has one control slit.
The control piston (27) in slit carrier (28) determines with its control edge (30) the opening cross section of the control slits (29) and thereby the flow rate to the upper chamber and the injection valves.
Each control slit with a differential pressure valve which keeps the pressure drop (differential pressure) at control slits constant independent of control slit opening. As a result, the metered fuel quantity depends exclusively from the exposed cross section.
Fluctuations of system pressure and deviations of injection valve opening pressure have no influence. The characteristic line control piston stroke - fuel quantity is linear.

The differential pressure valves (31) are divided into lower and upper chambers by a diaphragm (34). The lower chambers (33) are connected by means of an annular channel. The pressure in lower chambers corresponds to system pressure. The pressure in the upper chambers (32) is lower by the differential pressure of 0.1 bar. This difference is provided by the compression spring (35) installed in upper chamber, as a result of which an equilibrium of forces is attained on diaphragm between upper and lower chamber.

Function of differential pressure valves. If the flow rate on control slit (29) is increased, the pressure in upper chamber (32) is temporarily increased, so that the differential pressure is getting less than 0.1 bar. Since the spring force supports the pressure on diaphragm top, the diaphragm arches more in downward direction and therefore exposes a larger outflow cross sect ion toward injection valve. The fuel pressure against diaphragm top is thereby again reduced. There is once again equilibrium between diaphragm upper and lower side, the diaphragm remains in wide-open position.
Vice versa, the pressure against diaphragm top drops when the control slit is closed (the differential pressure is increasing). The outflow cross section will be reduced until equilibrium is once again established.
This procedure is repeated during each new control piston position, that is, during each change of air flow sensor plate position.

The fuel distributor top has 8 closing plugs (38) with adjusting screws (37) for differential pressure valves (31) underneath. The differential pressure valves are set by manufacturer, readjustment is not permitted.

A pressure compensating valve (arrow) is integrated with fuel distributor top.

The pressure compensating valve remains closed as long as the fuel system is under pressure.
In the event of a pressure drop "following a long stationary period and cooling down of fuel" below 0.3-0.05 bar gauge pressure the pressure compensating valve will open.
Piston (2) is raised and pressure compensation between system pressure and return flow pressure proceeds by way of piston gap.
This will prevent that the control piston in fuel distributor is raised in direction of full load when the engine is stopped and that a high enrichment of mixture shows up during a cold start.
The fuel system is subdivided into the following pressure circuits:
System pressure circuit
The system pressure circuit has a constant over-pressure. The pressure extends from fuel pump via fuel filter, fuel reservoir, fuel distributor (differential pressure valve-diaphragm underside) to cold start valve.
The differential pressure valve-diaphragm top in fuel distributor is subject to system pressure reduced by 0.1 bar.
The pressure in fuel lines from fuel distributor to injection valves corresponds to opening pressure of injection valves.
The excess fuel flows pressureless from system pressure regulator in fuel distributor through return flow line back to fuel tank.
Control pressure circuit
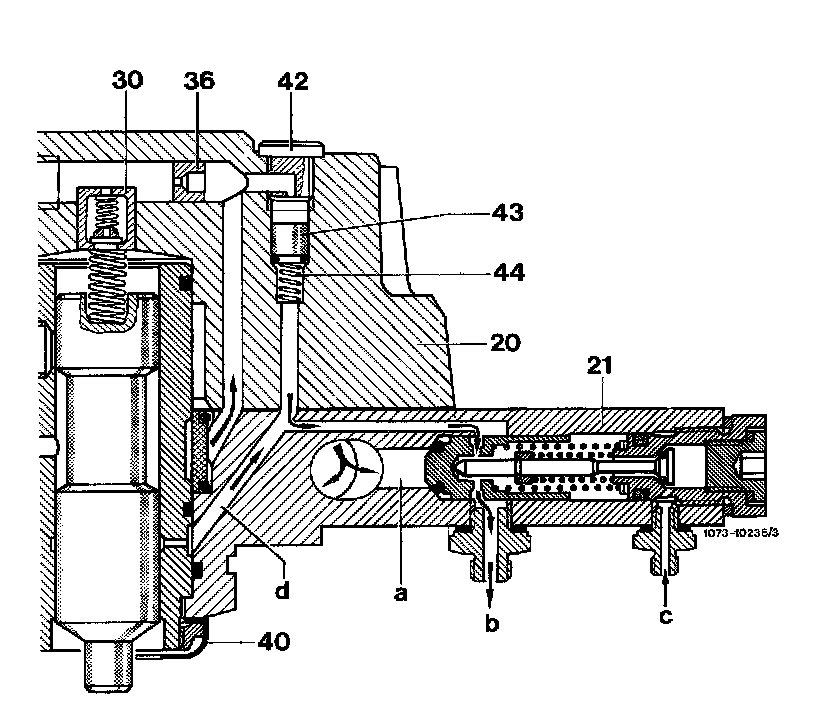
In fuel distributor the control pressure circuit is branched-off from system pressure circuit by means of an orifice (36). The orifice is in top of fuel distributor.

The control pressure circuit has a variable pressure of 0.5-3.8 bar gauge pressure which is controlled by warm-up compensator depending on temperature and load.
The control pressure acts on top of control piston as a counterforce to the air pressure occurring at air flow sensor plate.
High control pressure = less fuel (lean mixture)
Low control pressure = more fuel (richer mixture)
A capsule valve with a damping restriction (30) is located between the space above control piston and control pressure line.
The capsule valve serves for quick emptying of area above control piston during transition into warm-up stage. The restriction dampens the movements of the air flow sensor plate in the event of a pulsating air flow.
Simultaneously, the restriction determines the degree of excessive oscillation of air flow sensor plate and thereby the momentary transition enrichment during acceleration. As a result, the transition characteristics during acceleration are improved.
During acceleration, the quick emptying of the space above the control piston results in pressure peaks in control pressure line. To make sure that these pressure peaks are not damaging the diaphragm in warm-up compensator, a pressure damper (105) or a tecalan element is installed in control pressure line (106).
1st version

Control pressure line with pressure damper (105) and tecalan element (106). The tecalan element is closed at the front and at the rear (float).
2nd version

The tecalan element in control pressure (106) has been extended. This made installation of pressure damper unnecessary.
Damper

To avoid noises, a diaphragm damper is installed between fuel tank and fuel pump.
Fuel pump

Characteristics:
^ Roller-cell pump.
^ Driven by a permanently excited electric motor.
^ Fuel flowing through pump ("wet pump").
^ No risk of explosion; due to a shortage of oxygen, no ignitable mixture can be formed in the relatively small spaces.
Operation
The rotor disk (1) has 5 pocket-shaped recesses with a roller (2) located in each recess. Centrifugal forces are pushing the rollers outwards against rotor ring in fuel pump housing (3), where they are serving as sealing rings. The eccentric location of rotor ring in fuel pump housing (3) in relation to rotor disk (1) changes the volume between the rollers, so that a delivery effect is obtained.

The delivery capacity of the fuel pump is designed in such a manner that the necessary pressure in fuel system is provided in all operating conditions, so that the engine is always provided with cool fuel.
The pressure relief valve (88) opens at a pressure of approx. 8 bar and connects the suction side with the pressure side inside fuel pump. This will prevent an additional pressure increase, e.g. at narrow spots in pressure or return flow system.
On stopped engine, the check valve (32) prevents that the fuel pressure is reduced by way of fuel pump. As a result, fuel vapor lock will be widely eliminated.
The fuel pump is provided with electric current by means of a relay. The fuel pump is therefore running only:
a) When the starter is operated.
b) When the engine is running.
This will prevent the delivery of fuel with the ignition switched on and the engine stopped (e.g. following an accident).
Fuel filter

The fuel filter is a fine filter with paper element. The fuel flow direction is indicated by arrows. A damper is installed to eliminate noise.
Fuel reservoir
The interior of the fuel reservoir is subdivided into a spring and storage chamber.
As soon as the fuel pump is running, the reservoir is filled and the diaphragm spring is preloaded. In this position, which corresponds to the max. storage volume, the diaphragm remains under tension as long as the engine is running.
With the engine stopped, the pressure in fuel system remains intact until the storage volume is exhausted. The respective time depends on the inner sealing of the system. For safety reasons, the spring chamber of the fuel reservoir is connected to the damper of the fuel pump by way of the leak line. As a result, no fuel can flow out in the event of a defective diaphragm.

During operation, the fuel reservoir contributes to the damping of fuel pump noise.
The fuel reservoir is located in parallel to fuel filter. It is filled through orifice (arrow) only slowly with fuel. From the fuel filter, the fuel flows directly into the feed line toward engine. These measures serve to establish the fuel pressure at the injection valves faster, which in turn will favor starting characteristics and smooth running after starting.
After the engine has been stopped, the fuel system is kept under pressure for a given period under influence of fuel reservoir.
This will widely prevent fuel vapor lock in fuel system, which in turn will improve hot starting characteristics.
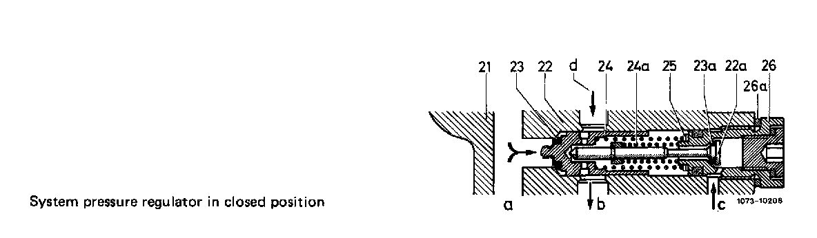
System pressure regulator
The system pressure regulator is a piston pressure regulator and integrated in fuel distributor. The system pressure regulator has the following functions:
a) Controlling the system pressure.
b) After stopping engine, making sure that the system pressure drops quickly under influence of opening pressure of injection valves, so that injection valves are reliably closing.
c) Sealing the system and control pressure circuit in relation to return flow, so that the pressure in fuel system is maintained for a longer period and that a good hot start is obtained.
The fuel is delivered by the fuel delivery pump initially into the lower chambers of the fuel distributor, which are connected by an annular channel.
Since the fuel pump delivers more fuel than the engine consumes, the pressure in the lower chambers increases.
This will displace the regulator piston (22) against force of spring (24) to clear the fuel return flow (b) to the extent that the fuel pressure in system pressure circuit attains the preset value.
During this procedure, the regulator piston (22) will also open the push-up valve (22a) and thereby establish a connection from warm-up compensator-return flow (c) to fuel return flow (b).

With the fuel delivery pump stopped, the regulator piston is returned to its sealing surface by the force of spring (24). The push-up valve (22a) can now also be pushed back to its closing position by the force of spring (24a}. With the push-up valve closed, the fuel return flow from warm-up compensator is interrupted.

Injection valves

Each cylinder is associated with an injection valve. The injection valves are mounted in intake manifold.
The injection valves are atomizing the fuel even in minimum quantities to an extremely fine degree by means of an installed blow valve.
Auxiliary air valve
During the warm-up period, the engine requires an increased quantity of mixture to overcome the increased friction losses and to obtain perfectly smooth running characteristics.
The auxiliary air valve is controlled by an expansion element and supplies the engine with additional air in dependence of the coolant temperature.

Since this additional air is measured by means of the air flow sensor plate, the control piston distributes the pertinently increased quantity of fuel.
The auxiliary air valve is:
Open below -20 °C
Closed above +65 °C.
Starting September 1981, the auxiliary air valve has been replaced by an electronically controlled idle speed adjuster (refer to electronic idle speed control).
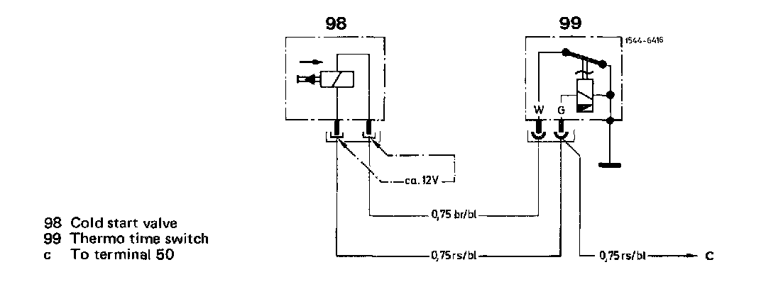
Cold start valve


The electromagnetic cold start valve is activated by system pressure. It is controlled via terminal 50 and by a thermo time switch. The thermo time switch is closed at temperatures below +15 °C coolant temperature.The closing time of the thermo time switch and thereby the opening time of the cold start valve increases with decreasing temperature and amounts to 12 seconds at -20 °C.
Warm-up compensator

The warm-up compensator regulates the control pressure, which acts on control piston and serves for enriching the mixture during warm-up stage and at full load.
Two fuel lines, the control pressure line and the return flow line, are connected to warm-up compensator,
The control pressure acts on top of diaphragm valve (71), which throttles the outflow cross section of the return flow line.
Two valve springs (72 and 73), which are tuned to the normal control pressure, are effective at underside.
A bimetallic strip (74), which is provided with a heater coil (75), is installed for enrichment during warm-up stage. The cold bimetallic strip acts in opposition to valve springs (72 and 73), so that the diaphragm valve (71) opens and the control pressure is reduced. Heating up will gradually eliminate the effect of the bimetallic spring until the control pressure has attained its normal value.
Full load enrichment
Prior to September 1981


For full load enrichment the warm-up regulator is divided into two chambers by means of a vacuum diaphragm (76). The intake manifold vacuum "a" is effective in upper chamber. The lower chamber is connected to atmosphere via connection "i".
To avoid the entry of dirt or water, the venting system is connected to contour hose (arrow).
At idle and in partial load range the upper chamber is subject to a vacuum and the vacuum diaphragm (76) is resting against upper stop. In this position, the spring force provides the normal value of the control pressure.
At full load, the vacuum in the upper chamber is reduced and the vacuum diaphragm (76) is moving downwards. The force of the inner valve spring (73) is getting less and the control pressure is thereby reduced to the full load value.
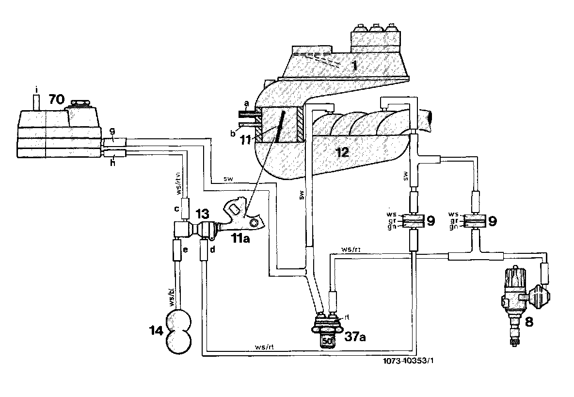
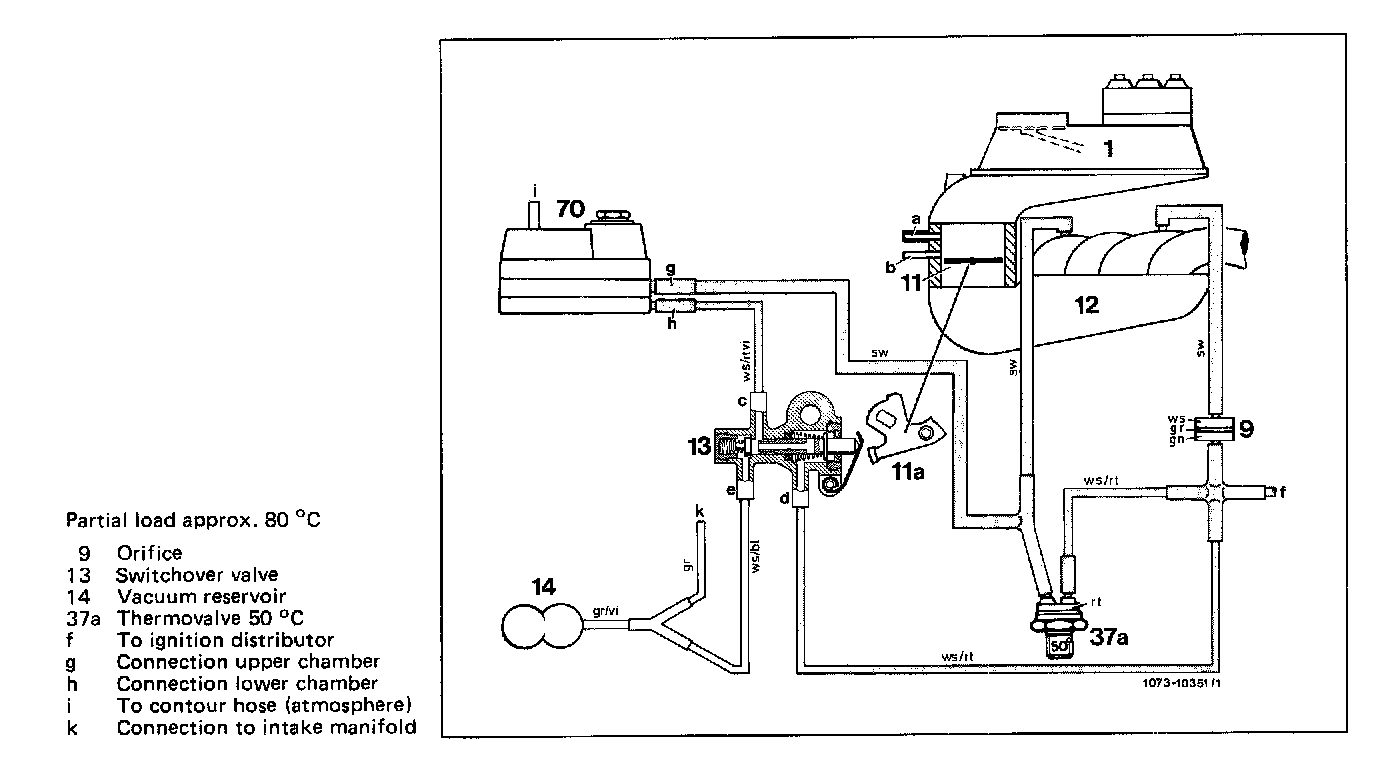
Starting September 1981

The full load enrichment is mechanically/pneumatically controlled. In full load position of throttle valve, the switchover valve (13) is switched by means of a guide lever (11a). Connections (e and c) are now connected and the vacuum from vacuum reservoir (14) is acting on vacuum chamber (connection h) of warm-up compensator.
The vacuum reservoir (14) is mounted in lefthand front wheel house.

The intake manifold vacuum, which is less at full load, is acting on upper chamber (77). This will deflect the diaphragm in downward direction. The inner compression spring (73) is relieved and the force against control diaphragm (71) is reduced. The mixture is enriched.
Acceleration enrichment
The acceleration enrichment is controlled in dependence of a vacuum at a coolant temperature below 50 °C (70 °C starting August 1984). There is no enrichment at higher coolant temperatures.
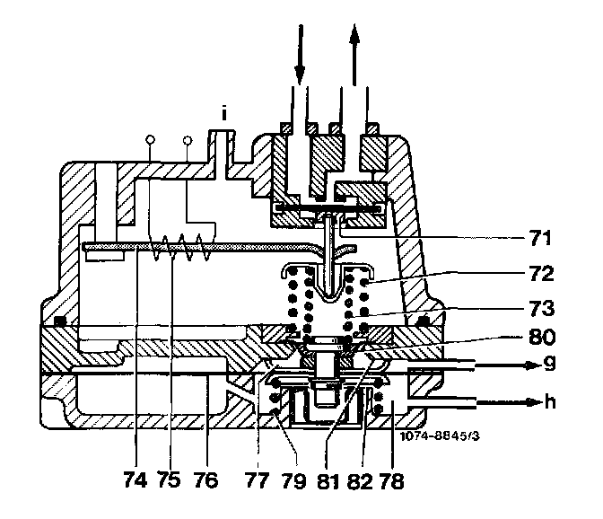
Two springs are exerting pressure against control diaphragm (71) in warm-up compensator, of which the outer spring (72) is firmly supported in housing and the inner spring (73) is loaded or unloaded in dependence of the vacuum.
The warm-up compensator lower half is subdivided into a upper and a lower chamber (77 and 78) by a diaphragm (76). The lower chamber holds a compression spring (79). Both chambers are subject to intake manifold vacuum.
The vacuum line of upper chamber (connection g) runs directly to intake manifold. The vacuum line of the vacuum chamber (connection h) runs via switchover valve (13) on throttle valve housing to intake manifold. The vacuum line is provided with an orifice (9). Connections "c" and "d" of switchover valve (13) are connected to each other. Switchover operates at full throttle only (full load enrichment). In such a case, connections e and "c" are connected to each other.


At constant speed the vacuum in upper and lower chamber (77 and 78) is the same. The vacuum diaphragm is resting against upper stop in vacuum chamber under influence of compression spring (79).
Upon acceleration, the vacuum in the upper chamber is reduced faster than in lower chamber under influence of orifice (9).
The vacuum diaphragm will move to lower stop.
The inner spring is relieved up to internal pressure compensation of the two chambers, so that the pressure against control diaphragm will become less. As a result of the now lower control pressure (increase of outflow cross section) a reduced force will act on control piston in fuel distributor. Consequently, the air flow sensor plate is increasingly deflected at similar air flow rate and a larger fuel quantity will be allotted (mixture enrichment).
The thermovalve (37a) opens starting at a coolant temperature of 50 °C (70 °C starting August 1984). The orifice in lower chamber will thereby be bypassed and the acceleration enrichment will be cancelled.

USA starting 1985

Acceleration enrichment is also performed when engine at normal operating temperature via pressure step switch or lambda control.
The 4 functions of warm-up compensator:
Warm-up Stage:

Warm-up And Acceleration Stage:

Stabilized With Full Load Enrichment:

Warm-up Stage:
