Rear Axle Flange and Angular Ball Bearing
Removal and installation of rear axle shaft flange, adjustment of bearingsNote: Jobs on bearing of rear axle shaft flange can also be completed with the rear axle installed.
Removal

1. Unscrew hex bolt for attaching rear axle shaft to rear axle shaft flange and remove together with spacing sleeve and tensioning washer.

2. If required, push rear axle shaft (28) out of rear axle shaft flange (78) by means of assembly fixture (05).
3. Remove assembly tool.
Caution: When removing assembly tool, do not bend rear axle shaft too much and do not drop shaft.

With rear axle in place, rear axle shaft is best tied with a wire to torsion bar or rear spring, to continue working without obstruction.

4. Remove caliper and brake disc
5. Remove brake shoes of parking brake, if required.

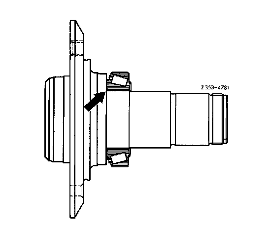
6. Unlock slot nut on rear axle shaft flange. Attach assembly (09) with extension (self-made) to rear axle shaft flange (78), loosen slot nut with slot nut wrench (08) and remove.

7. With the rear axle installed, the rear axle shaft flange (78) or the assembly plate (09) can be supported with an extension (arrow) as shown in illustration.
Note: For loosening slot nut with semi-trailing arm removed, clamp assembly plate (09) on shaft into vise.

8. Remove sealing race and inner radial sealing ring (6) from wheel carrier by means of a screw driver.

9. Knock rear axle shaft flange out of wheel carrier by means of impact puller and remove bearing inner race together with spacing sleeve.
10. Remove outer radial sealing ring from wheel carrier.

11. Pull bearing outer race of outer tapered roller bearing out of wheel carrier by means of puller (1).

12. Knock bearing outer race of inner tapered roller bearing out of wheel carrier (4) by means of removing mandrel (1).

13. Clamp assembly plate with rear axle shaft flange into vise. Pull outer bearing inner race from rear axle shaft flange by means of puller.

14. Check all parts for re-use. Pay special attention to running surfaces for radial sealing rings on rear axle shaft flange and on sealing ring. Replace worn parts. Check rear axle shaft flange for vertical and lateral runout.
Note: The rear axle shaft flanges are provided with an oil return spiral on running surface for outer radial sealing ring, which differs for lefthand and righthand side. For identification, the chamfer for concentric alignment is provided with a punched-in "R" for righthand side and a punched-in "L" for lefthand side.

15. If required, refinish oil return spiral with emery cloth (grain 180) at an angle of approx. 20° for a length of 25mm.
L = Lefthand rear axle shaft flange
R = Righthand rear axle shaft flange
Installation

16. On rear axle shaft flange of present version use tapered roller bearing with large fillet (arrow) only.

17. For rear axle shaft flange of version used up to now a tapered roller bearing with larger radius may also be used.

18. Press bearing ring of outer tapered roller bearing (16) on rear axle shaft flange (15) with a matching tube (1)

19. Install both bearing outer races into wheel carrier by means of installer (1 and 2).

20. Coat seat for outer radial sealing ring on wheel carrier (4) with sealing compound and carefully mount new radial sealing ring (18) by means of puller (1 and 2) so that ring rests against chamfer of wheel carrier.
21. Coat or fill both tapered roller bearing inner races and cavity between both bearing outer races in wheel carrier with multi-purpose grease.

22. Mount new spacing sleeve (arrow) on rear axle shaft flange and introduce rear axle shaft flange into wheel carrier.
23. Place bearing inner race for inner tapered roller bearing (73) on rear axle shaft flange.

05a-05f Assembly tool
71 Radial sealing ring
73 Tapered roller bearing, inner
74 Spacing sleeve
75 Semi-trailing arm
76 Tapered roller bearing. outer
77 Radial sealing ring
78 Rear axle shaft flange
80 Fitted notched pin
24. Fill new radial sealing ring between the two sealing lips with multi-purpose grease. Coat radial sealing ring with sheet metal jacket at OD with sealing compound. Mount radial sealing ring with partially rubberized jacket in dry condition. Press bearing inner race and radial sealing ring on or in by means of assembly tool (05a-05f).
25. Mount sealing ring and screw-on a new slot nut.
Adjustment

26. Attach assembly plates to rear axle shaft flange.
27. Keep tightening slot nut with slot nut wrench (08) until a slight end play can still be noticed. Attach dial gauge holder to wheel carrier.

28. Check end play of rear axle shaft flange while moving rear axle flange back and forth and simultaneously turning to the right and left (end play 0,04-0.06 mm).
Note: If there is no more end play because the slot nut has been tightened too much, do not make corrections by releasing slot nut but always install a new spacing sleeve and set up end play once again.

29. Lock slot nut (8) by bending at two points into respective slots on rear axle shaft flange (15).
30. Pull rear axle shaft into rear axle shaft flange.

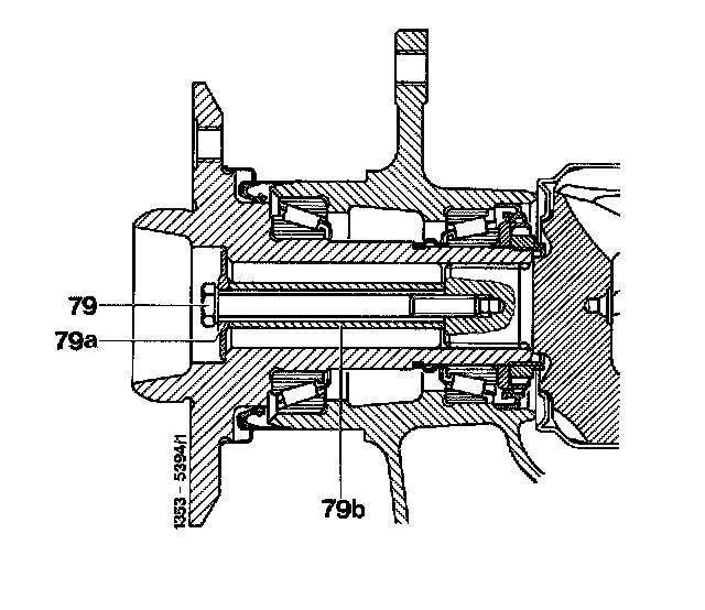
2nd version
79 Hex. screvy M 8 x 90
79a Tensioning vvasher
79b Spacing sleeve (72.5 mm long)
31. Tighten hex bolt for attaching rear axle shaft to rear axle shaft flange of 1st version (M 12) to 95 Nm.
On 2nd version, mount hex bolt (79: M 8) with tensioning washer (79a) and spacing sleeve (79b) and tighten to 30 Nm.
Note:
Replace tensioning washer (79a) after one-time use.
Provide tensioning washer (79a) in range of screw head with oil (2nd and 3rd version).

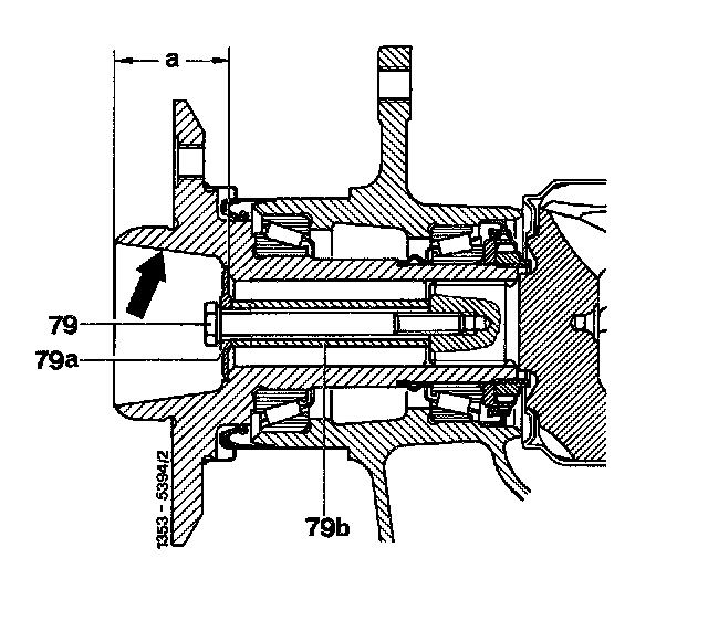
3rd version
79 Hex. screw M 8 x 85
79a Tensioning washer
79b Spacing sleeve (67.5 mm long)
a = 37 mm
Note: Starting September 1979 the inside contour (arrow) of rear axle shaft flange has been modified and the contact surface of the tensioning washer has been moved inwards by an additional 5 mm. To guarantee the correct association of hex. screw and spacing sleeve, measure distance "a" on rear axle shaft flange from face to contact surface of tensioning washer by means of a depth gauge and take the length for the spacer sleeve and hex. screw from table.
Be sure to avoid wrong combinations!
2nd rear axle shaft flange version
a = 32 mm
Pertinent hex. screw = M 8x90
Pertinent spacing sleeve = 72.5mm
3rd rear axle shaft version
a = 37 mm
Pertinent hex. screw = M 8x85
Pertinent spacing sleeve = 67.5mm
As an additional external identification characteristic, the shorter hex. screw is provided with a recess on hex. head, on the shorter spacing sleeve the surface is bright, on the former sleeve it is phosphatized (bonderized).
32. Install brake shoes of parking brake, if removed.
33. Mount brake disc and vent brake system, if required.