AH82.10-P-1005-01A Notes on Determining Headlamp Aiming Values
AH82.10-P-1005-01A Notes On Determining Headlamp Aiming Values
Component Identification:

The prescribed degree of inclination for main headlamps (1) is given in % specific to the vehicle.
The prescribed degree of inclination for front fog lamps is always 2 %.
Component Identification:

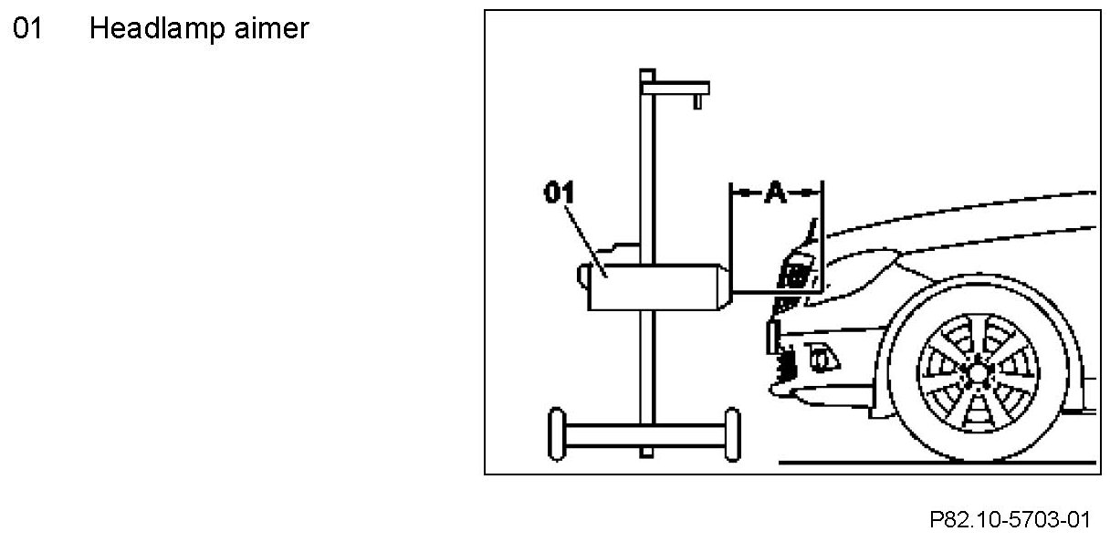
Before checking the main headlamps and front fog lamps, the respective degree of inclination is to be set at the scale of the headlamp aimer (01).
With headlamp aimers (01) with cm scale, a prescribed degree of inclination of 1.2 %, for example, corresponds to the adjustment value of 12 cm on the scale when converted.
With headlamp aimers (01) with % scale, a prescribed degree of inclination of 1.2 %, for example, also corresponds to the adjustment value of 1.2 % on the scale.
The headlamp aimer (01) is to be aligned with the dimension (A) 10-30 cm in front of the headlamp, parallel to the vehicle front, at the level of the light source.