Removing and Installing Tensioning Rail

1 Tension rail
Engine 116.96 117.96
a = 133 mm 160 mm
2 Tension rail
Engine 116.98 117.98
b = 133 mm 161.5 mm
3 Lining
Engine 116 117
C = 184 mm 208 mm
NOTE: The timing chain is guided in the cylinder crankcase by means of 2 slide rails and is tensioned by the chain tensioner via a tension rail.
The tension rail is guided by a floating pin in crank- case and timing case cover.
The tension rails of engines 116.96 and 117.96 are different in length and differ in shape from those of cast-iron engines.
The thrust pin of the tension rail was relocated in an inward direction and centered.
The tension rail lining (3) of all engines 116 and 117 can be replaced in the case of repairs.
Removal:

1 Remove slide rail in right-hand cylinder head (only engines 116.960/961, 117.960/961).
2 Remove chain tensioner (only engines 116.962/963/964/965, 117.962/963/964/965/967/968).

3 Mark right-hand camshaft sprocket and timing chain with paint.
4 Remove right-hand camshaft sprocket.
Engine 117 (USA):

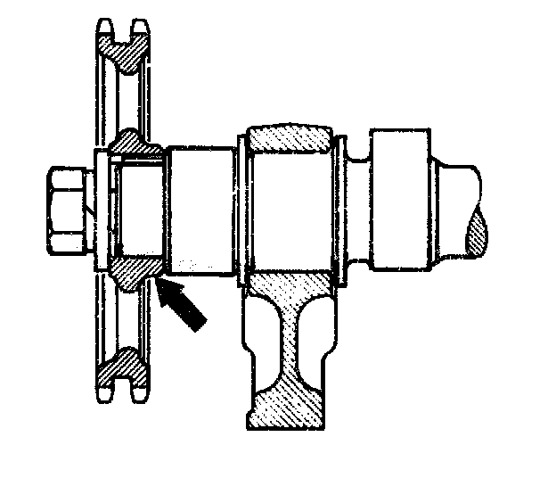
5 Unscrew closing plug (arrow).

6 Cant bearing pin of tension rail with a bolt M 8 or a screwdriver and pull out.
NOTE: The bearing pin is hollow (inner dia. 8.8 mm) and a floating fit (light sliding fit) in the crankcase and timing case cover.

7 Remove tension rail.
Installation:

8 Insert tension rail between timing case cover and timing chain.
9 Insert bearing pin and drive in fully.
10 Install closing plug with sealing ring.

11 Mount camshaft sprocket so that the collar on camshaft sprocket (arrow) faces toward the camshaft.
12 For further installation proceed vice versa.