Timing Components: Service and Repair
Removing/Installing Intermediate Gear For Distributor Drive:
NOTE: The bearing bushes for the distributor drive are no longer fitted in the crankcase as of December 1984 and in the timing case cover as of March 1985. Crankcases and timing case covers with and without bearing bushes can be installed alternatively.
Removal:

78 = Intermediate gear for distributor drive
1 Remove timing case cover. Service and Repair
2 Remove slide rail (87).
3 Slacken timing chain on intermediate sprocket by turning left-hand camshaft.
4 Remove intermediate sprocket. On engine 116 this requires the removal of left-hand cylinder head.
5 If required, pull out bearing bushing in cylinder crankcase and timing case cover by means of internal puller.
Installation:

6 Press bearing bushing into crankcase and timing case cover so that the lubricating groove (arrow) is positioned at the bottom.
7 Lubricate bearing bushing with oil and insert intermediate sprocket.
Engine 116:

Engine 117:

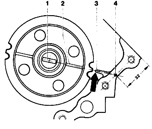
1 Driver
2 Mark on intermediate sprocket
3 Mark on crankcase
4 Reference point for crankcase without mark
8 Set crankshaft to ignition TDC.
CAUTION: In ignition TDC position of No.1 cylinder. the intermediate sprocket should be positioned such that the marks on the intermediate sprocket and the crankcase are in alignment (arrow).
9 Check position of intermediate gear and correct if required.
The marks (arrows) should be in alignment. If not, distributor adjustment after installation will not be possible.
10 For further installation proceed vice versa