Checking, Replacing and Tightening Conrod Bolts
Tool for Self-Fabrication
Steel plate see fig., step 3
NOTE: Prior to assembly, lubricate connecting rod bolt threads and contact surface of nuts with engine oil.
The connecting rod bolt 116 038 04 71 is identical with the 3rd connecting rod bolt version of the cast iron engines 116.98 and 117.98.
Drive out connecting rod bolts only if they have to be renewed.
Checking:
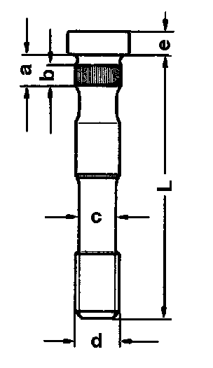
Dimension Specifications:

Dimensions "a", "b", "c", "d", "e" and "L":

Dimension "H":


1 Prior to reusing connecting rod bolt measure minimum necked-down shank dia. c. If the minimum necked-down shank dia. c is reached, renew connecting rod bolt.
Renewing:
Shop Made Tool:


2 Drive out connecting rod bolts.
3 Press new connecting rod bolts into connecting rod with approx. 45 000 N or install with hammer and mandrel. To do so, Place connecting rod on a ground steel plate.
Tightening:

4 Lubricate contact surface of nuts and connecting rod bolt thread.
5 Tighten connecting rod nuts to 40 - 50 Nm initial torque and 90 - 100° angle of rotation torque.
CAUTION! Tighten connecting rod bolts knocked in with a hammer with an initial torque of 50 - 60 Nm followed by a 90 - 100° angle of rotation torque.
It is essential that this instruction is observed, failure to do so could result in the connecting rod nuts coming loose.
NOTE: If no angle of rotation wrench is available, the nut can also be turned in one go by the specified angle using an ordinary socket wrench. The angle should be observed as accurately as possible. In order to prevent faults with the angular torque, do not use a torque wrench when tightening according to angular degrees.