Procedures


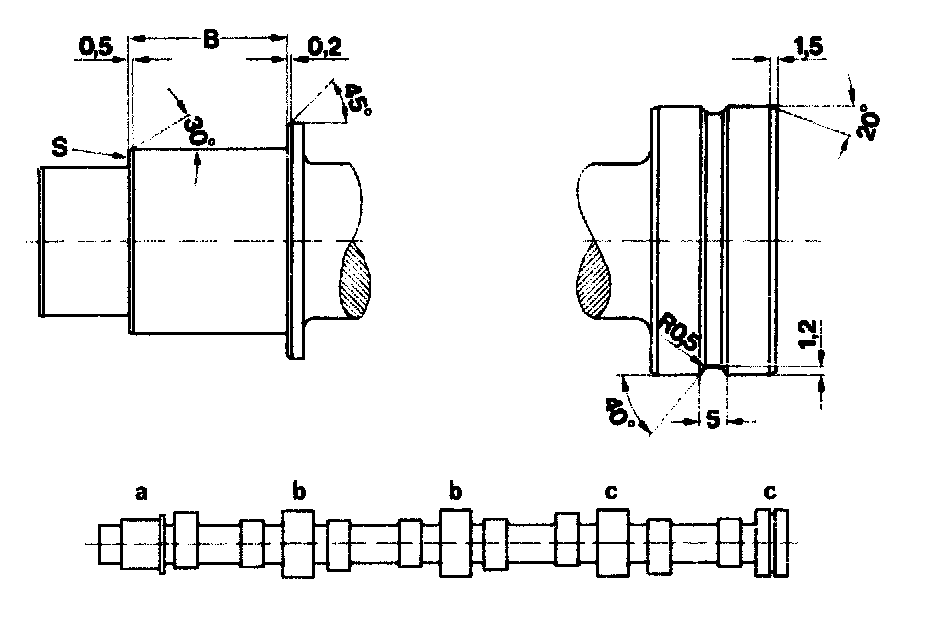
NOTE: When regrinding thrust face of bearing journal "a", grind face "S" always so that the journal width "B" and consequently the axial play (end play) is maintained.
Bearing journals are not hardened.
Suitable repair stage camshaft bearings are available for ground camshaft bearing journals.