Operation CHARM
: Car repair manuals for everyone.
Home
>>
Mercedes Benz
>>
1985
>>
380SL (107.045) V8-3.8L (116.960)
>>
Repair and Diagnosis
>>
Diagrams
>>
Mechanical Diagrams
>>
Water Pump
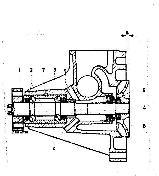
Water Pump
1
Flange
2
Coolant pump shaft with compact bearing
3
Coolant pump housing
4
Sliding ring seal
5
Counter-ring with sealing ring
6
impeller
7
Dewel sleeve
a
5.3-5.7 mm
c
Vent bores