Operation CHARM
: Car repair manuals for everyone.
Home
>>
Mercedes Benz
>>
1985
>>
380SL (107.045) V8-3.8L (116.960)
>>
Repair and Diagnosis
>>
Diagrams
>>
Mechanical Diagrams
>>
Engine
>>
Timing Cover
Timing Cover
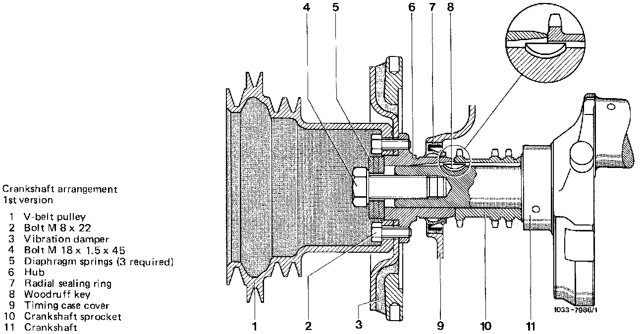
Crankshaft Pulley With 3 Diaphragm Springs (1st Version):
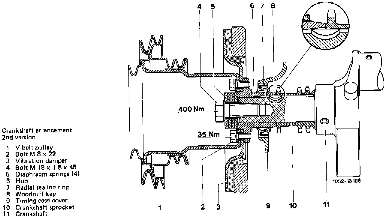
Crankshaft Pulley With 4 Diaphragm Springs (2nd Version - as of 8/95):