Front Crankshaft Seal
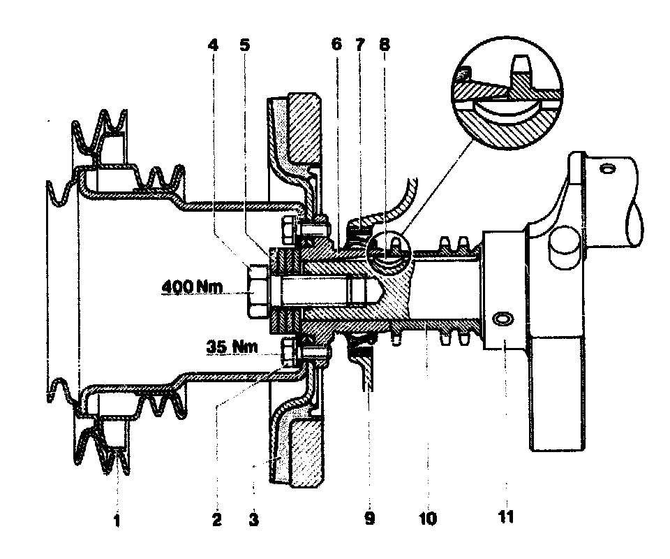
Crankshaft Arrangement 1st Version:

1 V-belt pulley
2 Bolt M 8 x 22
3 Vibration damper
4 Bolt M 18 x 1.5 x 45
5 Diaphragm springs (3 required)
6 Hub
7 Radial sealing ring
8 Woodruff key
9 Timing case cover
10 Crankshaft Sprocket
11 Crankshaft
Crankshaft Arrangement 2nd Version:

1 V-belt pulley
2 Bolt M 8 x 22
3 Vibration damper
4 Bolt M 18 x 1.5 x 45
5 Diaphragm Springs (4 required)
6 Hub
7 Radial sealing ring
8 Woodruff key
9 Timing Case cover
10 Crankshaft sprocket
11 Crankshaft