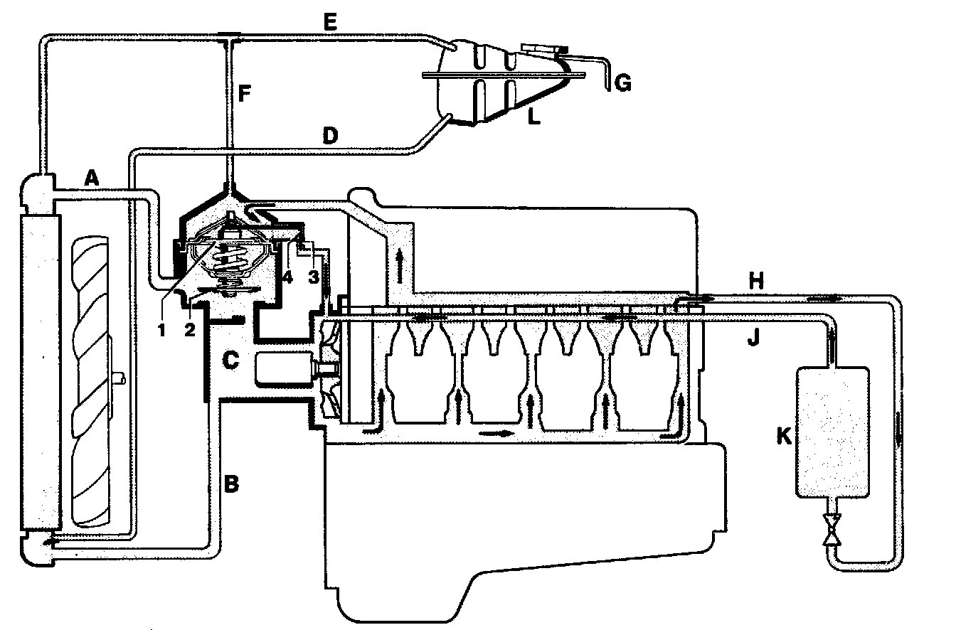
Cooling System
Coolant Circuit (2-phase)

A From coolant thermostat to radiator
B From radiator to coolant pump
C Bypass duct
D Coolant flow from expansion tank to radiator
E Vent hose upper Coolant box to expansion tank
F Vent hose inlet connection (thermostat housing) to vent hose between upper coolant box and expansion tank
G Overflow hose
H Heating water feed from cylinder head (intake manifold left) to heat exchanger
J Heating water return duct in Cylinder crankcase right
K Heat exchanger
L Expansion tank
1 Main valve coolant thermostat
2 Bypass valve coolant thermostat
3 Control bore
4 Pin
Production breakpoint: August 1981
Production Breakpoint: August 1981:


NOTE: On the engines 116.960 and 116.961 national versions (AUS) (J) (S) (USA) 1981. the vent line (F) is installed with effect from August 1981.

Instead of vent hose (arrow) by way of which the cooling system has been continuously and automatically vented during filling operation and also during operation of engine. the vent screw (7) has been used up to August 1981. This screw must be opened for venting when filling the cooling system. When using this vent screw, no automatic, continuous venting of cooling system will occur.