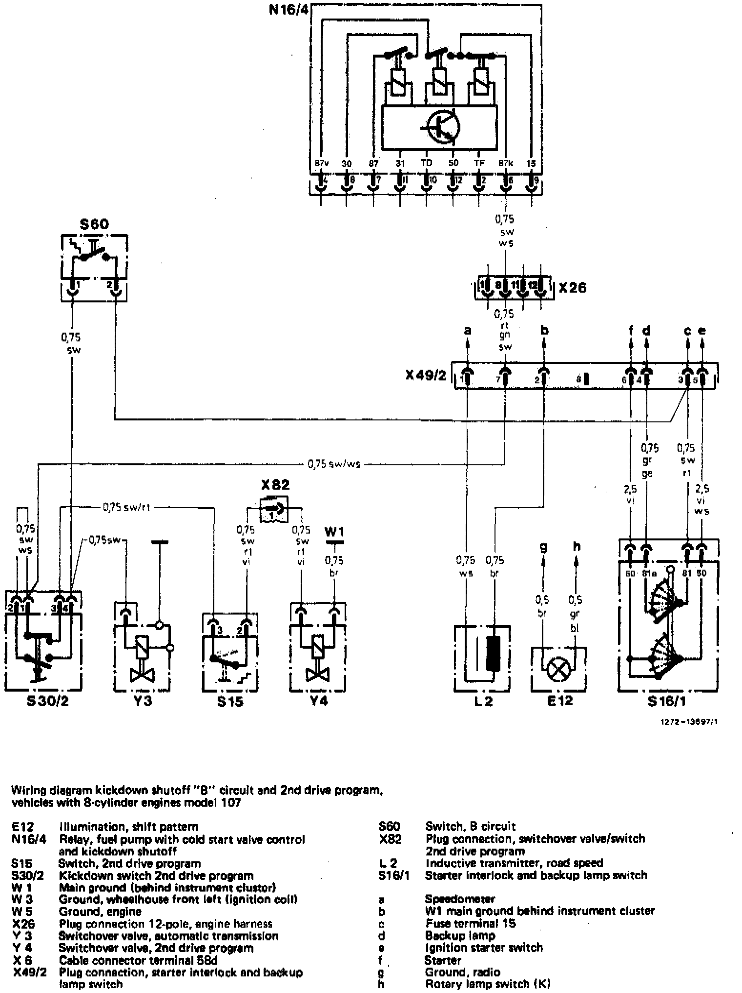
Wiring Diagram Kickdown Shutoff "B" Circuit & 2ND Drive Program

E12 Illumination, shift pattern
N16/4 Relay, fuel pump with cold start valve control and kickdown shutoff
S15 Switch, 2nd drive program
S30/2 Kickdown switch 2nd drive program
W1 Main ground (behind instrument cluster)
W3 Ground, wheelhouse front left (ignition coil)
W5 Ground, engine
X26 Plug connection 12-pole, engine harness
Y3 Switchover valve, automatic transmission
Y4 Switchover valve, 2nd drive program.
X6 Cable connector terminal 53d
X49/2 Plug connection, starter interlock and backup lamp switch
S60 Switch, B circuit
X82 Plug connection, switchover valve/switch 2nd drive program
L2 Inductive transmitter, road speed
S16/1 Starter interlock and backup lamp switch
a Speedometer
b W1 main ground behind instrument cluster
c Fuse terminal 15
d Backup lamp
e Ignition starter switch
f Starter
g Ground, radio
h Rotary lamp switch (K)